Traction Control Switch: Service and Repair
VDC OFF SwitchREMOVAL
NOTE:
The trunk opener switch is integrated with the VDC OFF switch. (Sedan model)
1) Remove the instrument panel lower cover.
2) Release the claws and remove the VDC OFF switch.
INSTALLATION
Install each part in the reverse order of removal.
INSPECTION
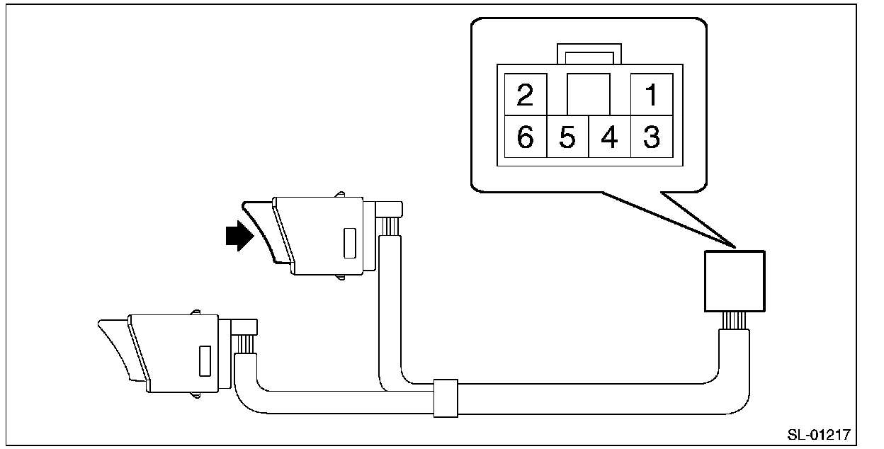
1) Disconnect the VDC OFF switch connector.
2) Check the resistance between the VDC OFF switch terminals.
Preparation tool: Circuit tester
3) Replace the VDC OFF switch if the inspection result is not within the standard value.