Curiosii for ever!
: Car repair manuals for everyone.
Home
>>
Subaru
>>
2012
>>
Outback F4-2.5L SOHC
>>
Repair and Diagnosis
>>
Wiper and Washer Systems
>>
Windshield Washer Motor
>>
Testing and Inspection
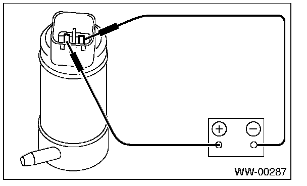
Windshield Washer Motor: Testing and Inspection
Washer Tank and Motor
INSPECTION
Apply battery voltage to the connector terminal of the washer motor and make sure that the motor operates.