Curiosii for ever!: Car repair manuals for everyone.

Evaporator Temperature Sensor / Switch: Service and Repair

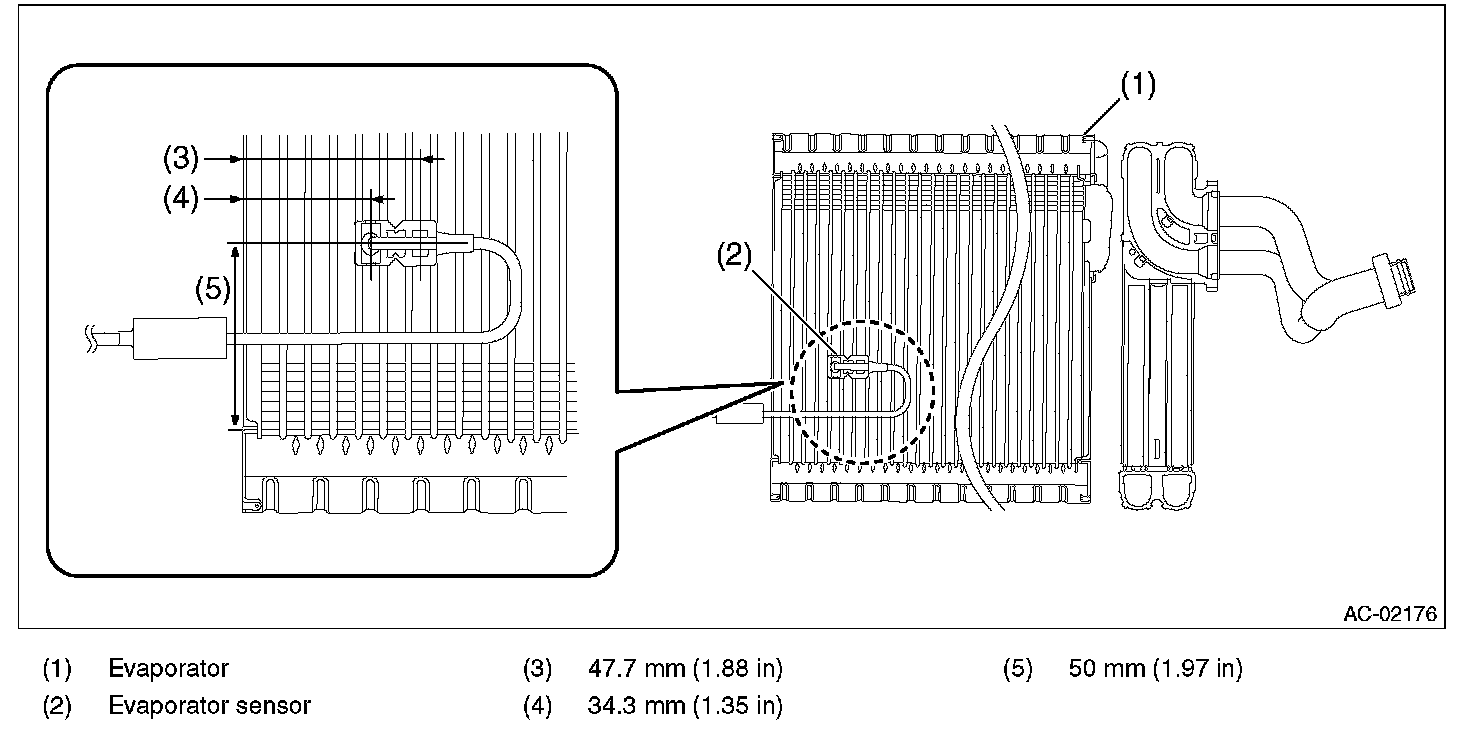
EVAPORATOR SENSOR

REMOVAL
1. Remove the evaporator.
2. Remove the evaporator sensor from the evaporator.






INSTALLATION

CAUTION:
- Do not start the engine before charging refrigerant.
- If the engine is started with no refrigerant charge, replace the compressor.
- Make sure that the water seal gasket on the cover attachment area is securely attached.
- Replace the O-rings with new parts, and then apply compressor oil.


1. Install the evaporator sensor at the position shown in the figure below.






2. Install each part in the reverse order of removal.
3. Fill engine coolant.
4. Charge refrigerant.

Tightening torque:
Tightening torque:
T: 3.5 N.m (0.36 kgf-m, 2.6 ft-lb)


Tightening torque:
T: 7.5 N.m (0.76 kgf-m, 5.5 ft-lb)