Curiosii for ever!
: Car repair manuals for everyone.
Home
>>
Subaru
>>
2012
>>
Outback F4-2.5L SOHC
>>
Repair and Diagnosis
>>
Brakes and Traction Control
>>
Disc Brake System
>>
Brake Pad
>>
Specifications
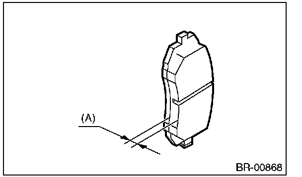
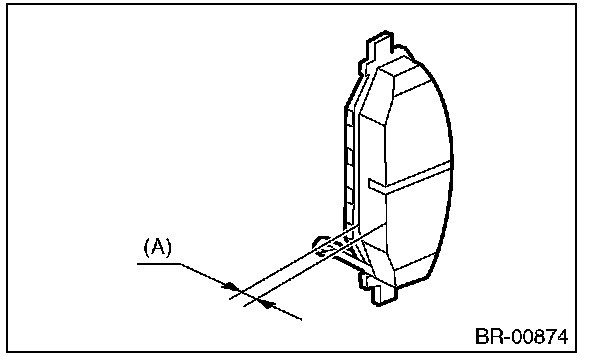
Brake Pad: Specifications
Brake Pad
Wear Limit
Front
Rear