Curiosii for ever!: Car repair manuals for everyone.

Component Tests and General Diagnostics

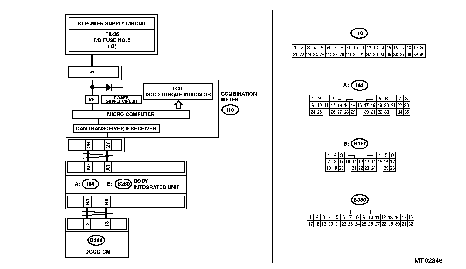
OPERATION

When there is a problem with a part or module, DCCD manual mode display blinks. (DCCD manual mode display blinks even in AUTO mode condition.) The blinking starts from when the problem is detected, and continues until the ignition switch is turned OFF. The faulty parts can be recognized by reading DTC with the Subaru Select Monitor.

DCCD manual mode display is as shown in the figure.





INSPECTION

DIAGNOSIS:
DCCD manual mode display is open or shorted.

TROUBLE SYMPTOM:
DCCD manual mode display does not illuminate in manual mode.

WIRING DIAGRAM: