Curiosii for ever!: Car repair manuals for everyone.

Camshaft Position Sensor: Service and Repair

Camshaft Position Sensor

REMOVAL

INTAKE SIDE

- Camshaft position sensor RH

1. Disconnect the ground cable from battery.






2. Disconnect the connector (A) from the camshaft position sensor RH, and remove the camshaft position sensor RH from the rear side of the cylinder head.






- Camshaft position sensor LH

1. Disconnect the ground cable from battery.






2. Remove the intake manifold.
3. Remove the camshaft position sensor LH.






EXHAUST SIDE

1. Disconnect the ground cable from battery.






2. Lift up the vehicle.
3. Remove the under cover.
4. Remove the engine harness cover. (right side only.)






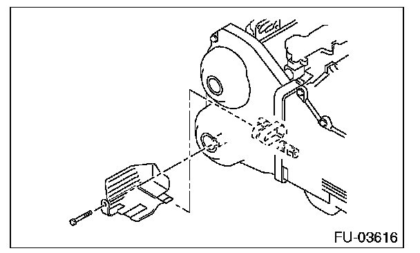
5. Disconnect connector (A) from the camshaft position sensor, and remove the camshaft position sensor from under the cylinder head.
- RH side






- LH side






INSTALLATION

INTAKE SIDE

Install in the reverse order of removal.

Tightening torque: 6.4 N.m (0.7 kgf-m, 4.7 ft-lb)

EXHAUST SIDE

Install in the reverse order of removal.

Tightening torque: 6.4 N.m (0.7 kgf-m, 4.7 ft-lb)

- RH side






- LH side






Tightening torque: 5 N.m (0.5 kgf-m, 3.7 ft-lb)