Curiosii for ever!: Car repair manuals for everyone.

Front

Front Brake Pad

REMOVAL

1) Lift up the vehicle, and then remove the front wheels.
2) Remove the caliper bolt.





3) Raise the caliper body and support it.

NOTE:
Do not disconnect the brake hose from the caliper body.

4) Remove the pads.





INSTALLATION

1) Apply a thin coat of Molykote M7439 (Part No. K0770YA000) or grease contained in the pad kit to the pad clip.





2) Apply a thin coat of Molykote AS880N (Part No. K0777YA010) or grease contained in the pad kit to both surfaces of the pad inner shim.





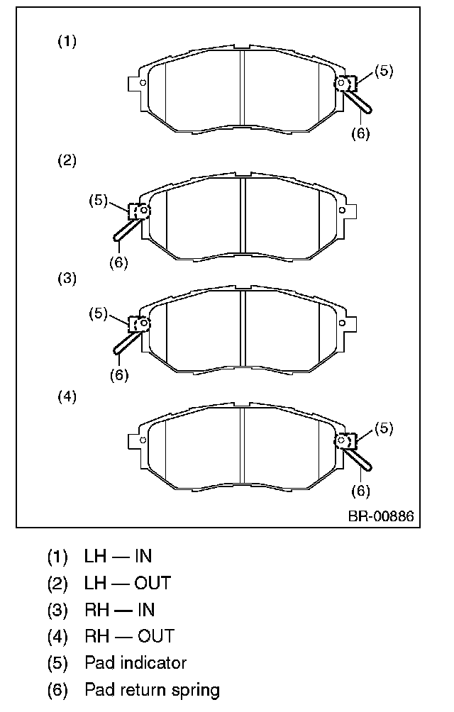
3) Install the pad to support.

CAUTION:
^ Be sure to install so that the pad return spring faces the input side of the direction of brake rotor rotation, as shown in the figure.
^ Correctly install the pad return spring to the supporting surface of the pad clip as shown in the figure.
^ If the pad return spring is deformed or damaged, replace the brake pad.






NOTE:
Install the pad indicator in proper direction.





4) Install the caliper body to the support.

Tightening torque:
27 Nm (2.75 kgf-m, 19.9 ft-lb)

INSPECTION

Check the pad thickness A.








NOTE:
^ Always replace the pads of both wheels and both sides as a set.
^ Replace pad clips if they are twisted or worn.
^ Wear indicators are installed on the inner and outer disc brake pads.
If the pad is worn to the limit, the end of wear indicator contacts disc rotor, and a squeaking sound is heard as the wheel rotates. If the sound is heard, replace the pad.
^ Replace the pad if there is oil or grease on it.