Curiosii for ever!: Car repair manuals for everyone.

Valve Body: Service and Repair

Control Valve Body

REMOVAL

CAUTION:
^ Directly after the vehicle has been running or the engine has been long idle running, the CVTF is hot. Be careful not to burn yourself.
^ Be careful not to spill differential gear oil on the exhaust pipe to prevent it from emitting smoke or causing a fire. If gear oil adheres, wipe it off completely.


NOTE:
The control valve body is replaced as an assembly only, because it is a non-disassembly part.

1) Lift up the vehicle.
2) Clean the transmission exterior.
3) Remove the CVTF drain plug to drain CVTF.





4) Install the CVTF drain plug.

NOTE:
Use a new gasket.

Tightening torque:
20 Nm (2.1 kgf-m, 14.8 ft-lb)

5) Remove the oil pan.

CAUTION:
Be careful not to allow foreign matter such as dust or dirt to enter the oil pan.





6) Remove the magnet.
7) Completely remove the remaining liquid gasket on the transmission case and oil pan.
8) Disconnect the control valve harness connector.





9) Remove the oil strainer.





10) Remove the control valve body.

CAUTION:
Do not let the manual valve drop off.





11) Remove the pressure pipe.

NOTE:
It may be located in transmission case side.





12) Remove the O-ring from oil strainer.





13) Remove the O-ring from pressure pipe.





INSTALLATION

1) Clean the mating surface of oil pan and transmission case.
2) Check the control valve body for dust and other foreign matter.
3) Install the O-ring to the pressure pipe.

NOTE:
^ Use new O-rings.
^ Apply CVTF to the O-ring.





4) Install the pressure pipe.





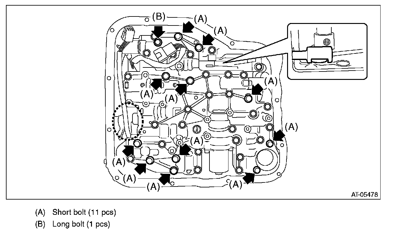
5) Install the control valve body to the transmission.

CAUTION:
^ Beware of the transmission harness getting caught in between.
^ Do not impact or bend the transmission harness because it has the oil temperature sensor inside.


NOTE:
^ Engage the manual valve to the manual plate.
^ Lead the transmission harness through from the point indicated by dashed line in the figure.

Tightening torque:
9 Nm (0.9 kgf-m, 6.6 ft-lb)





6) Install the O-ring to oil strainer and install the oil strainer.

NOTE:
^ Use new O-rings.
^ Apply CVTF to the O-ring.
^ Let the transmission harness run between control valve body and oil strainer.

Tightening torque:
9 Nm (0.9 kgf-m, 6.6 ft-lb)





7) Connect the control valve harness connector.





8) Clean the magnet.
9) Attach the magnet at the specified position of the oil pan.





10) Apply liquid gasket all around the oil pan mating surface seamlessly.

Liquid gasket:
THREE BOND 1217B (Part No. K0877YA020) or equivalent





11) Install the oil pan by equally tightening the bolts.

CAUTION:
Beware of the transmission harness getting caught in between.

Tightening torque:
5 Nm (0.5 kgf-m, 3.7 ft-lb)





12) Fill with CVTF.
13) Adjust the CVTF level.