Curiosii for ever!: Car repair manuals for everyone.

Inspection

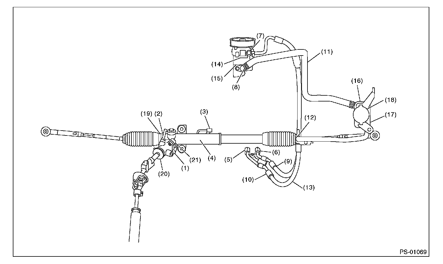
Pipe Assembly

INSPECTION

Check all disassembled parts for wear, damage or other problems. Repair or replace the defective parts as necessary.





CAUTION:
Although the surface layer materials of rubber hoses have excellent weathering resistance, heat resistance and resistance for low temperature brittleness, they are likely to be damaged chemically by brake fluid, battery electrolyte, engine oil and automatic transmission fluid and their service lives are to be very shortened. Wipe off hoses immediately if any of these come into contact with the hoses. Since resistances for heat or low temperature brittleness are gradually declining according to time accumulation of hot or cold conditions for the hoses and their service lives are shortening accordingly, it is necessary to perform careful inspection frequently when the vehicle is used in hot weather areas, cold weather areas and a driving condition in which many steering operations are required in short time.
Continuous discharge of the relief valve for 5 seconds or more will reduce the service lives of hoses, oil pump, fluid, etc., due to over heating.






NOTE:
There are conditions in which a fluid leak is diagnosed, but is not actually leaking. This is because the fluid spilt during the last maintenance was not completely wiped off. Be sure to wipe off spilt fluid thoroughly after maintenance.