Curiosii for ever!: Car repair manuals for everyone.

Evaporator Core: Service and Repair

EVAPORATOR

REMOVAL

1. Disconnect the ground cable from battery.
2. Using the refrigerant recovery system, discharge refrigerant.
3. Drain the coolant from the radiator.
4. Remove the connector and bolts, and remove the expansion valve and AC pipes from the evaporator.
5. Loosen the heater hose clamps and remove the hoses.






6. Remove the instrument panel assembly.
7. Remove the heater and cooling unit.
1. Release the lock and remove the relay holder.
2. Remove the nuts, and remove the engine control module (ECM).






3. Remove the bolt and remove the heater and cooling unit.






8. Remove the blower motor unit assembly.
1. Release the claws and remove the bolts.






2. Remove the blower motor unit assembly as shown in the figure.






9. Disconnect the claws and then remove the aspirator hose.






10. Remove the screw, and then remove the foot duct (RH).






11. Remove the screws and remove the foot duct (LH).






12. Pull out the heater core.
1. Remove the screw and remove the heater pipe clamp.






2. Pull out the heater core from the heater and cooling unit assembly.






13. Remove the heater case lower.
1. Remove the clip, and remove the evaporator connector.
2. Remove the gasket.
3. Remove the screw and lock, then remove the heater case lower.






14. Remove the evaporator.






INSTALLATION

CAUTION:
- Do not start the engine before charging refrigerant.
- If the engine is started with no refrigerant charge, replace the compressor.
- If the evaporator has been replaced, add an appropriate amount of compressor oil to the evaporator.
- Make sure that the water seal gasket on the cover attachment area is securely attached.
- Replace the O-rings on pipes with new parts, and then apply compressor oil.
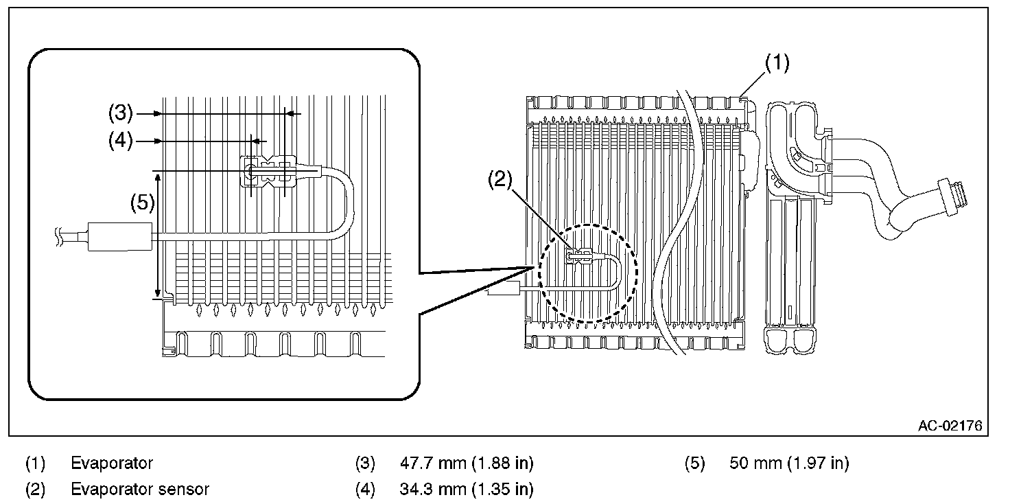
- Install the evaporator sensor at the position shown in the figure below.







1. Install each part in the reverse order of removal.
2. Fill engine coolant.
3. Charge refrigerant.

Heater cooling unit:
Tightening torque:
T: 3.5 N.m (0.36 kgf.m, 2.6 ft.lb)


Blower motor unit:
Tightening torque:
T: 7.5 N.m (0.76 kgf.m, 5.5 ft.lb)