Curiosii for ever!: Car repair manuals for everyone.

Power Steering Line/Hose: Service and Repair

Pipe Assembly

REMOVAL

1) Disconnect the ground cable from battery.
2) Lift up the vehicle, and then remove the front crossmember support plate and jack-up plate.
^ Large type





^ Small type





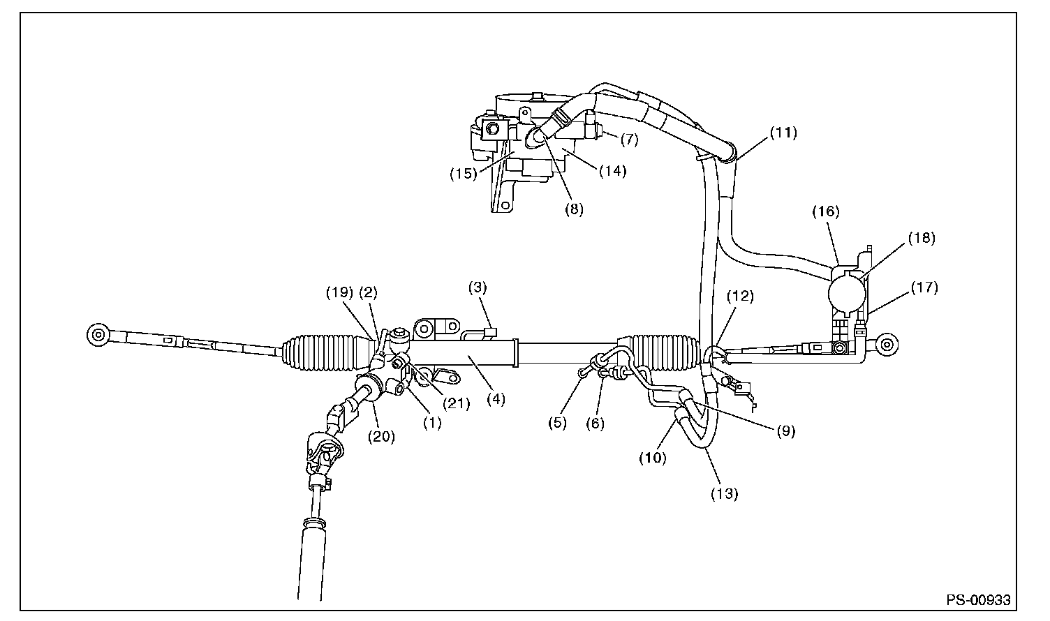
3) Remove the one pipe joint at the center of the gearbox, and connect the vinyl hose to the pipe and the joint. Discharge the fluid by turning the steering wheel fully clockwise and counterclockwise. Discharge the fluid similarly from other pipes.





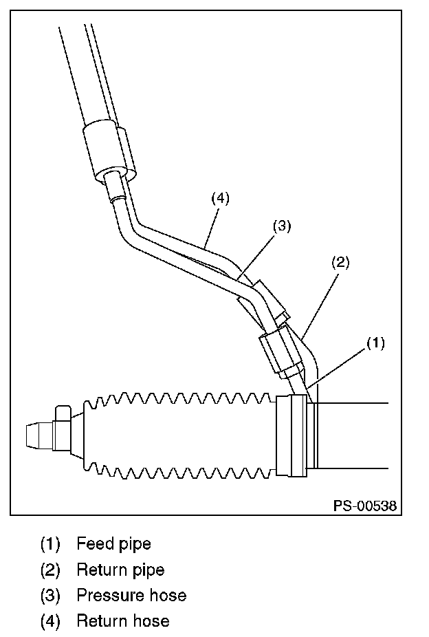
4) Remove the clamp E from return hose and pressure hose.





5) Disconnect the return hose from return pipe and disconnect the pressure hose from feed pipe.





6) Remove the air intake duct.
^ Non-turbo model:
^ Turbo model:
7) Disconnect the suction hose and pressure hose from oil pump.
^ Non-turbo model





^ Turbo model





8) Disconnect the suction hose and return hose from the reservoir tank.





9) Remove the hose bracket and take out the hose assembly from vehicle.





INSTALLATION

1) Temporarily tighten the hose bracket bolt.





2) Install the plastic clip to the pressure hose and suction hose.

CAUTION:
Align the installation position of the plastic clip with the protector edge of the suction hose.

^ Non-turbo model





^ Turbo model





3) Connect the suction hose and return hose to the reservoir tank.

CAUTION:
Firmly insert the plastic clip of return hose to the bracket.





4) Connect the suction hose and pressure hose to the oil pump. Tighten the eye bolt of pressure hose.

Tightening torque:
40 Nm (4.08 kgf-m, 29.5 ft-lb)

^ Non-turbo model





^ Turbo model





5) Temporarily connect the pressure hose to feed pipe and return hose to return pipe. Temporarily tighten the bolt of clamp E.





NOTE:
Make sure that the character "8" on each clamp is positioned on the opposite side, as shown in the figure.





6) Tighten clamp E.

Tightening torque:
7.5 Nm (0.76 kgf-m, 5.5 ft-lb)

7) Tighten the pressure hose to feed pipe and return hose to return pipe.

Tightening torque:
15 Nm (1.53 kgf-m, 11.1 ft-lb)

8) Connect pipes A and B to the four pipe joints of the gearbox.

Tightening torque:
Refer to "COMPONENT" of "General Description".





9) Install the front crossmember support plate and jack-up plate.
10) Lower the vehicle.
11) Tighten the bolts which hold the hose bracket.

Tightening torque:
10 Nm (1.02 kgf-m, 7.4 ft-lb)





12) Install the air intake duct.
^ Non-turbo model:
^ Turbo model:
13) Connect the battery ground terminal.
14) Fill with the specified fluid.

CAUTION:
Never start the engine before filling with fluid; otherwise the vane pump may become seized.

15) Finally, check the clearance between pipes or hoses as shown in the figure indicated in "General Diagnostic Table". Testing and Inspection
INSPECTION

Check all disassembled parts for wear, damage or other problems. Repair or replace the defective parts as necessary.





CAUTION:
Although the surface layer materials of rubber hoses have excellent weathering resistance, heat resistance and resistance for low temperature brittleness, they are likely to be damaged chemically by brake fluid, battery electrolyte, engine oil and automatic transmission fluid and their service lives are to be very shortened. Wipe off hoses immediately if any of these come into contact with the hoses. Since resistances for heat or low temperature brittleness are gradually declining according to time accumulation of hot or cold conditions for the hoses and their service lives are shortening accordingly, it is necessary to perform careful inspection frequently when the vehicle is used in hot weather areas, cold weather areas and a driving condition in which many steering operations are required in short time.
Continuous discharge of the relief valve for 5 seconds or more will reduce the service lives of hoses, oil pump, fluid, etc., due to over heating.





NOTE:
There are conditions in which a fluid leak is diagnosed, but is not actually leaking. This is because the fluid spilt during the last maintenance was not completely wiped off. Be sure to wipe off spilt fluid thoroughly after maintenance.