Curiosii for ever!: Car repair manuals for everyone.

Overhaul

Generator

DISASSEMBLY
1. Remove the four through-bolts.






2. Heat the portion (A) of rear cover to 50 - 60 °C (122 - 140 °F) with a heater drier.






3. Then insert the tip of a flat tip screwdriver into the gap between stator core and front cover. Pry them apart to disassemble.






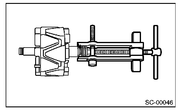
4. Hold the rotor with a vise and remove pulley nut.






CAUTION: When holding the rotor with a vise, place aluminum plates or wooden pieces on the vise jaws to prevent rotor from damage.






5. Use the following procedures to remove the ball bearings.
1. Remove the bolt, and then remove the bearing retainer.






2. Firmly install an appropriate tool (such as a fit socket wrench) to bearing inner race.






3. Push the ball bearing off the front cover using a press.

6. Remove the bearing from rotor using a bearing puller.






7. Remove six bolts between rectifier and stator coil, then remove the stator coil.






8. Remove four screws which secure the IC regulator to the rear cover, then remove the IC regulator.






9. Use the following procedures to remove the brush.
1. Remove the cover A.






2. Remove the cover B.






3. Separate the brush from connection to remove.






10. Use the following procedures to remove the rectifier.
1. Remove the cover of terminal B.






2. Remove the nut of terminal B.






3. Remove the bolts which secure the rectifier, then remove the rectifier.






ASSEMBLY
Assemble in the reverse order of disassembly.

NOTE: Refer to "COMPONENT" for tightening torques. Refer to GENERATOR, COMPONENT, General Description.

1. Push of the brush Before assembling the front and rear parts, press the brush down into brush holder, and then fix them in that position by passing a [1 mm (0.08 in) dia., 40 - 50 mm (1.6 - 2.0 in) long] wire through the hole as shown in the figure.

CAUTION: Be sure to remove the wire after reassembly.






2. Install the ball bearing.
1. Set the ball bearing on the front cover, and then securely install an appropriate tool (such as a fit socket wrench) to the bearing outer race.
2. Press the ball bearing into the specified position using a press. 3.Install the bearing retainer.
3. Press the bearing (rear side) into the rotor shaft using a press to install.
4. Heat the bearing box in rear cover up to 50 - 60 °C (122 - 140 °C), and then press the rear bearing into rear cover.

CAUTION: Grease should not be applied to rear bearing. Remove the oil completely if it is found on bearing box.

5. After reassembly, turn the pulley by hand to check that rotor turns smoothly.