Curiosii for ever!: Car repair manuals for everyone.

System Specifications

Cylinder head





Tighten all bolts 40 N.m (4.1 kgf-m, 29.5 ft-lb)
Retighten all bolts 95 N.m (9.7 kgf-m, 70.1 ft-lb)
Loosen all bolts 180 degrees
(in the reverse order of installing)
Loosen further 180 degrees
Tighten all bolts 10 N.m (1.0 kgf-m, 7.4 ft-lb)
Tighten all bolts 30 N.m (3.1 kgf-m, 22.1 ft-lb)
Tighten all bolts 70 N.m (7.1 kgf-m, 51.6 ft-lb)
Tighten all bolts 80 to 90 degrees
Tighten all bolts 40 to 45 degrees
Further tighten bolts (a) and (b) 40 - 45 degrees

Warping limit 0.035 mm (0.0014 in)
Standard height of cylinder head 127.5 mm (5.02 in)

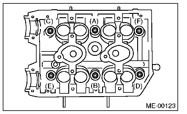
Camshaft bearing caps

Gradually tighten the camshaft cap in at least two steps, in alphabetical order shown in the figure, and then tighten to the specified torque.





Camshaft sprockets








Exhaust manifold 40 Nm (4.1 kgf-m, 29.5 ft lb)