Curiosii for ever!
: Car repair manuals for everyone.
Home
>>
Subaru
>>
2010
>>
Impreza F4-2.5L SOHC
>>
Repair and Diagnosis
>>
Power and Ground Distribution
>>
Fuse Block
>>
Locations
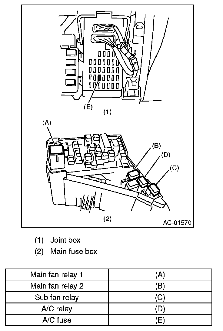
Fuse Block: Locations
Relay and Fuse
LOCATION