Curiosii for ever!: Car repair manuals for everyone.

Condenser HVAC: Service and Repair

Condenser

REMOVAL

1. Using the refrigerant recovery system, drain the refrigerant.
2. Disconnect the ground cable from battery.
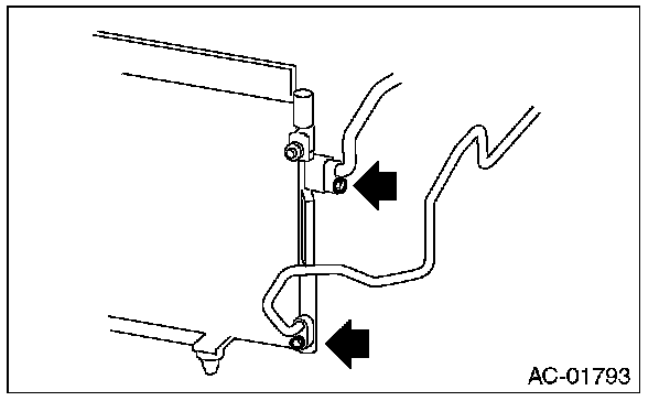
3. Disconnect the high pressure hose and pipe from the condenser.






4. Remove the radiator brackets.






5. Remove the front bumper face.
6. Remove two bolts. While lifting the condenser, pull out through space between the radiator and the radiator panel.

CAUTION:
- Be careful not to damage the condenser fins. If a damaged fin is found, repair it using a thin screwdriver.
- If the condenser is replaced, add an appropriate amount of compressor oil to the compressor.







INSTALLATION

CAUTION:
- Replace the O-rings on hoses or pipes with new parts, and then apply compressor oil.
- Confirm that lower guide (A) of condenser fits into holes on radiator panel.







1. Install in the reverse order of removal.
2. Charge refrigerant.

Tightening torque:
Refer to "COMPONENT" of "General Description".
Hose, pipe and condenser: 7.5 N.m (0.76 kgf.m, 5.5 ft.lb)
Radiator bracket: 14 N.m (1.43 kgf.m, 10.3 ft.lb)