Curiosii for ever!: Car repair manuals for everyone.

System Relay: Testing and Inspection

Relay and Fuse

INSPECTION

- A/C relay






- Main fan relay 1, Front blower relay






- Rear blower relay






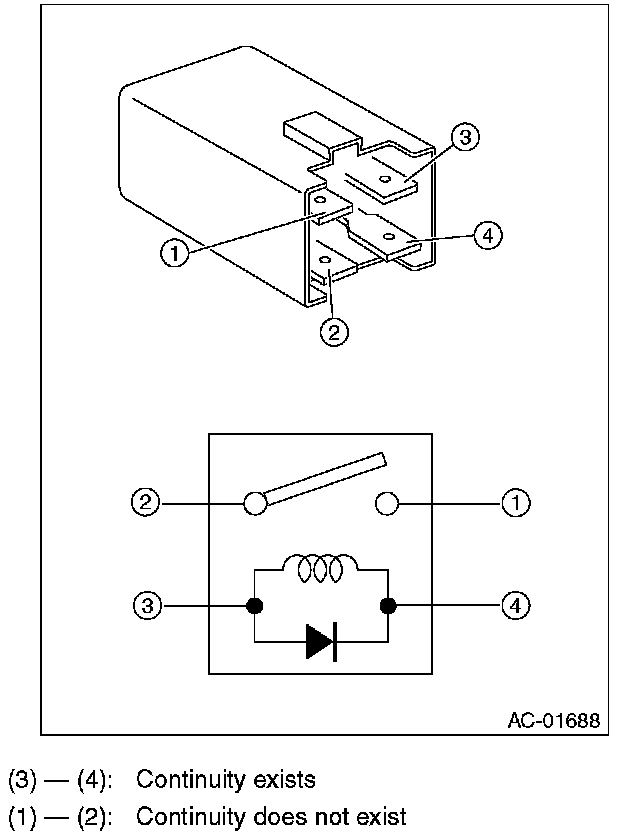
While applying battery voltage to the terminal between (3) and (4), check continuity between (1) and (2).
If no continuity exists, replace the relay with a new part.