Curiosii for ever!
: Car repair manuals for everyone.
Home
>>
Subaru
>>
2009
>>
Outback Sport F4-2.5L SOHC
>>
Repair and Diagnosis
>>
Heating and Air Conditioning
>>
System Relay
>>
Testing and Inspection
System Relay: Testing and Inspection
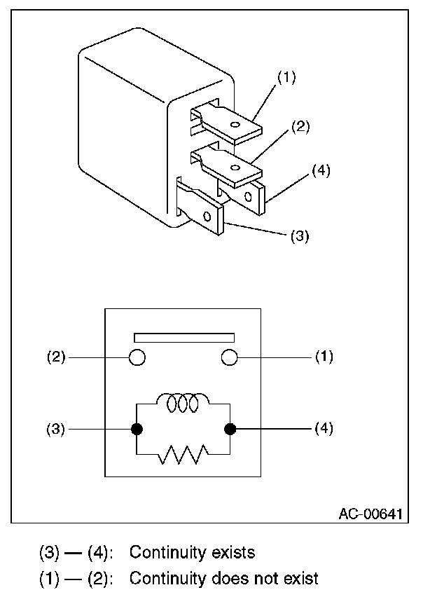
Relay and Fuse
INSPECTION
1.
While applying battery voltage to the terminal between (3) and (4), check for continuity between (1) and (2)
2.
Replace the relay if faulty.