With VDC
VDC Control Module and Hydraulic Control Unit (VDCCM&H/U)REMOVAL
1) Disconnect the ground cable from the battery.
2) Use compressed air to remove moisture and dust around the VDCCM&H/U.
NOTE:
If the terminals become dirty, it may cause improper contact.
3) Lift the lock lever and Disconnect the VDCCM&H/U connector.
CAUTION:
Do not pull on the harness when disconnecting the connector.
4) Disconnect the brake pipes from the VDCCM&H/U.
5) Wrap the brake pipe with a vinyl bag so as not to spill the brake fluid on the vehicle body.
CAUTION:
If brake fluid is spilled on the vehicle body, wash it off immediately with water and wipe clean.
6) Remove the nuts and remove the VDCCM&H/U.
CAUTION:
- Do not drop or bump the VDCCM&H/U.
- Do not turn the VDCCM&H/U upside down or place it sideways during storage.
- Be careful not to let foreign matter enter the VDCCM&H/U.
- Be careful that no water enters the connectors.
7) Remove the VDCCM&H/U bracket.
INSTALLATION
1) Install the VDCCM&H/U bracket.
Tightening torque:
33 Nm (3.3 kgf-m, 24.3 ft-lb)
2) Install the VDCCM&H/U with a new nut (Part No. 023506000) by aligning the damper groove of the VDCCM&H/U to the bracket side claw.
Tightening torque:
7.5 Nm (0.76 kgf-m, 5.5 ft-lb)
3) Connect the brake pipes to their correct VDCCM&H/U positions.
Tightening torque:
T1: 15 Nm (1.5 kgf-m, 11.1 ft-lb)
T2: 19 Nm (1.9 kgf-m, 14 ft-lb)
4) Connect the VDCCM&H/U connector.
NOTE:
- Be sure to remove all foreign matter from inside the connector before connecting.
- Make sure the VDCCM&H/U connector is securely locked.
5) Bleed air from the brake system.
6) Check the parameter to confirm that the applied models and grades of the relevant vehicle are included.
7) If the applied model and grade of the target vehicle are not included on the {Confirm on parameter} display screen, perform parameter selection and registration.
NOTE:
- When the VDCCM&H/U is replaced with a new part, be sure to perform the selection-registration operation.
- For the selection and registration of parameter, the Subaru Select Monitor is required.
- When the registration has not been performed, the DTC code "Parameter selection error" is detected together with the ABS/EBD/VDC warning light illumination.
REPLACEMENT
CAUTION:
- Because the pressure sensor built into the H/U is easily damaged by static electricity, start the operation after performing static electricity measures.
- Be careful not to touch the sensors in the H/U to prevent damage.
- Because the seal of the VDCCM cannot be replaced, do not pull or peel it by lifting it up.
- Because the screw of the H/U will become slightly worn in every replacement procedure, 5 times is the maximum number of times for replacement. If a problem is found such as not being able to torque the screw to specifications even before 5 replacement operations are performed, replace the H/U body.
- When installing the VDCCM, always use new screws.
- When the sealing surface of the VDCCM or H/U is dirty or damaged and it cannot be cleaned or repaired, replace with a new part.
1) Remove the VDCCM&H/U.
2) To prevent entry of foreign objects and brake fluid leakage, plug the oil pressure port of the VDCCM&H/U using a screw plug, etc.
3) Set the pump motor section of the removed VDCCM&H/U face down on a vise.
NOTE:
Before securing a part in a vise, place cushioning material such as wood blocks, aluminum plate or cloth between the part and the vise.
4) Using TORX(R) bit E5, remove the four screws of VDCCM.
NOTE:
These screws cannot be reused.
5) Slowly pull out the VDCCM upward from the H/U.
NOTE:
To prevent damaging of coil section, remove the VDCCM straight up from H/U without twisting.
6) Make sure there is no dirt or damage on the sealing surface of the H/U.
CAUTION:
- Do not clean the VDCCM&H/U by applying compressed air.
- Even if damage is found on the H/U seal, do not attempt repair by filing or with a metal scraper. To remove the seal residue, always use a plastic scraper. Do not use chemical such as paint thinner, etc., to clean.
7) Position the coil of the new VDCCM to align with the H/U valve.
8) To prevent deformation of the VDCCM housing cover, hold the corner of VDCCM and install it to the H/U without tilting.
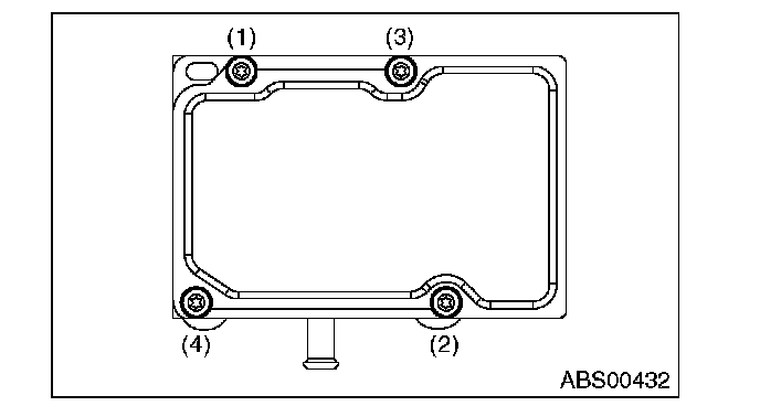
9) Using a TORX(R) bit E5, attach/tighten new screws in the order of (1) through (4).
CAUTION:
Always use new screws.
Tightening torque:
1.5 Nm (0.15 kgf-m, 1.1 ft-lb)
10) Check that there is no foreign matter in mating surface between the VDCCM&H/U.
11) Using a TORX(R) bit E5, tighten the screws in the order of (1) through (4) again.
Tightening torque:
3 Nm (0.3 kgf-m, 2.2 ft-lb)
12) Check that there is no gap in the mating surface between VDCCM&H/U.
13) Install the VDCCM&H/U to the vehicle.
14) Bleed air from the brake system.
15) Perform the selection-registration operation of parameter.
NOTE:
- After replacing the VDCCM, be sure to perform the selection-registration operation of parameter.
- For the selection and registration of parameter, the Subaru Select Monitor is required.
- When no data is registered, ABS/EBD/VDC warning light illuminates and the DTC "Parameter selection failure" is detected.
16) Check the parameter to confirm that the applied models and grades of the relevant vehicle are included.
17) If the applied models and grades of the relevant vehicle are not included, perform the selection-registration operation of parameter with the {Confirm Parameter} screen again.
18) Execute Clear Memory after parameter selection and registration operations because the DTC for "Parameter selection failure" is memorized.
ADJUSTMENT
When the following replacement, removal and installation are performed, be sure to perform the centering of the steering angle sensor and zero point setting of yaw rate & G sensor.
- VDCCM&H/U
- Steering angle sensor
- Yaw rate & G sensor
- Steering wheel parts (Including airbag)
- Suspension parts
- Wheel alignment adjustment
1) Park the vehicle straight on a level surface. (Engine operation in the "P" or "N" range)
2) Check that steering wheel is positioned at the center. (When the center position is not correct, adjust the wheel alignment.)
3) Set the Subaru Select Monitor to the vehicle, and select the {Set up mode for Neutral of Steering Angle Sensor & Lateral G Sensor 0 point} in the [Function Check Sequence� screen. (Follow the steps on the display.)
4) On [Brake Control System� display, select {Current Data Display & Save}, and check that the steering angle sensor shows "0 deg".
5) When the "0 deg" is not displayed, repeat the above steps and check that the "0 deg" is displayed.
6) Drive the vehicle for 10 minutes, and check that the ABS and VDC warning light is not illuminated.
7) Check that there is no unnecessary VDC operation or steering control loss. If there is a malfunction, repeat the steps above.