Curiosii for ever!: Car repair manuals for everyone.

Overhaul

Wiper Blade

DISASSEMBLY

1. FRONT
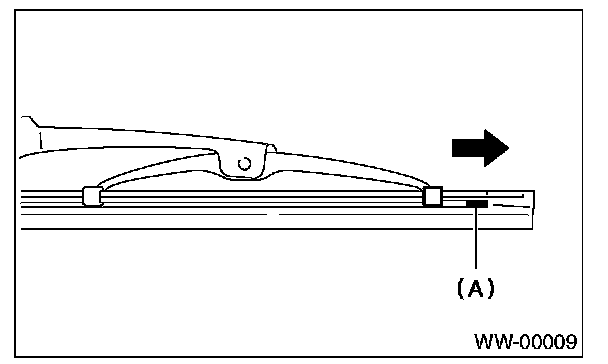
Pull side (A) of the wiper rubber stopper and remove the rubber from the blade assembly.






2. REAR
Pull the wiper rubber top slightly from stopper (A) and pull out completely.






ASSEMBLY

1. FRONT
1. Insert the wiper rubber onto the blade so that the stopper is in the position shown in the figure.






2. Make sure the wiper rubber is securely fastened to the pull stopper (A).






2. REAR






1. Insert the wiper rubber into claw B.






2. Insert the wiper rubber until its top end protrudes approx. 20 mm (0.79 in) from stopper D.






3. Insert the wiper rubber into claw A.