Curiosii for ever!: Car repair manuals for everyone.

Brake Light Switch: Service and Repair

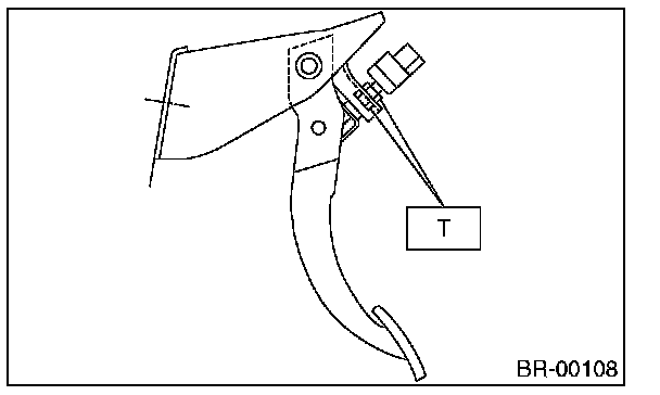
Stop Light Switch
REMOVAL
1. Disconnect the ground cable from the battery.
2. Disconnect the stop light switch connector.
3. Loosen the nuts, unscrew the stop light switch, and remove stop light switch.





INSTALLATION
1. Install the stop light switch onto the bracket with screws and position it with the nut.
2. Adjust the stop light switch position, and then tighten the nut.
Tightening torque: 8 N�m (0.8 kgf-m, 5.8 ft-lb)





INSPECTION
CHECK SPECIFIED POSITION
1. If the stop light switch does not operate properly (or if it is not secured at the specified position), replace with a new part.
Specified position L: 2 mm (0.079 in)





2. Measure the clearance between the threaded end of the stop light switch and the stopper.

CAUTION: Be careful not to rotate the stop light switch.

Stop light switch clearance A: 0.3 mm (0.012 in)





3. If it is not within the specification, adjust it by adjusting the position of the stop light switch.

CAUTION: Be careful not to rotate the stop light switch.

CHECK RESISTANCE
1. If the stop light switch does not operate properly, replace with a new part.
2. Measure the resistance of stop light switch terminals.








ADJUSTMENT
Loosen the lock nut, and adjust the stop light switch position until the clearance between the threaded end of the stop light switch and stopper (A) becomes 0.3 mm (0.012 in). Then, tighten the lock nut.
Tightening torque: 8 N�m (0.8 kgf-m, 5.8 ft-lb)





NOTE: Tighten lock nut B until the threaded end of switch contacts the stopper. Hold the switch so that it does not rotate, and loosen the lock nut B approx. 60°. The clearance (A) will become 0.3 mm (0.012 in).