Curiosii for ever!: Car repair manuals for everyone.

System Specifications

Cylinder block
Warping limit (Mating surface with cylinder head) 0.025 mm (0.0098 in)
Grinding limit 0.1 mm (0.004 in)
Standard height 201.0 mm (7.91 in)
Taper
Standard 0.015 mm (0.0006 in)
Out-of-roundness
Standard 0.010 (0.0004)
Cylinder to piston clearance at 20°C (68°F)
Standard -0.010 - 0.010 mm (-0.00039 - 0.00039 in)
Cylinder inner diameter boring limit (diameter) To 100.005 mm (3.9372 in)

Piston
Piston grade point 38.2 mm (1.50 in)
Outer diameter
Standard
A 99.505 - 99.515 mm (3.9175 - 3.9179 in)
B 99.495 - 99.505 mm (3.9171 - 3.9175 in)
0.25 mm (0.0098 in) OS 99.745 - 99.765 mm (3.9270 - 3.9278 in)
0.50 mm (0.0197 in) OS 99.995 - 100.015 mm (3.9368 - 3.9376 in)

Piston pin
Degree of fit Piston pin must be fitted into position with thumb at 20°C (68°F)
Clearance between piston pin hole and piston pin
Standard 0.004 - 0.008 mm (0.0002 - 0.0003 in)

Piston ring
Piston ring gap
Top ring
Standard 0.23 - 0.28 mm (0.0091 - 0.0110 in)
Second ring
Standard 0.37 - 0.52 mm (0.015 - 0.0203 in)
Oil ring
Standard 0.20 - 0.50 mm (0.0079 - 0.0197 in)
Clearance between piston ring and piston ring groove
Top ring
Standard 0.040 - 0.080 mm (0.0016 - 0.0031 in)
Second ring
Standard 0.030 - 0.070 mm (0.0012 - 0.0028 in)

Connecting rod and connecting rod bearing
Bend or twist per 100 mm (3.94 in) in length
Limit 0.1 mm (0.0039 in)
Thrust clearance
Standard 0.070 - 0.330 mm (0.0028 - 0.0130 in)
Oil clearance
Standard 0.017 - 0.045 mm (0.0007 - 0.0018 in)
Bearing size (Thickness at center)
Standard 1.490 - 1.502 mm (0.0587 - 0.0591 in)
0.03 mm (0.0012 in) US 1.504 - 1.512 mm (0.0592 - 0.0595 in)
0.05 mm (0.0020 in) US 1.514 - 1.522 mm (0.0596 - 0.0599 in)
0.25 mm (0.0098 in) US 1.614 - 1.622 mm (0.0635 - 0.0639 in)
Bushing of small end
Clearance between piston pin and bushing
Standard 0 - 0.022 mm (0 - 0.0009 in)

Crankshaft and crankshaft bearing
Bending limit 0.035 mm (0.0014 in)
Crank pin
Out-of-roundness 0.003 mm (0.0001 in)
Cylindricality 0.004 mm (0.0002 in)
Grinding limit (dia.) To 51.750 mm (2.0374 in)
Crank journal
Out-of-roundness 0.005 mm (0.0002 in)
Cylindricality 0.006 mm (0.0002 in)
Grinding limit (dia.) To 59.758 mm (2.3527 in)
Crank pin outer diameter
Standard 51.984 - 52.000 mm (2.0466 - 2.0472 in)
0.03 mm (0.0012 in) US 51.954 - 51.970 mm (2.0454 - 2.0461 in)
0.05 mm (0.0020 in) US 51.934 - 51.950 mm (2.0447 - 2.0453 in)
0.25 mm (0.0098 in) US 51.734 - 51.750 mm (2.0368 - 2.0374 in)
Crank journal outer diameter
Standard 59.992 - 60.008 mm (2.3619 - 2.3625 in)
0.03 mm (0.0012 in) US 59.962 - 59.978 mm (2.3607 - 2.3613 in)
0.05 mm (0.0020 in) US 59.942 - 59.958 mm (2.3599 - 2.3605 in)
0.25 mm (0.0098 in) US 59.742 - 59.758 mm (2.3520 - 2.3527 in)

Bearing size (Thickness at center)
#1, #3
Standard 1.998 - 2.011 mm (0.0787 - 0.0792 in)
0.03 mm (0.0012 in) US 2.017 - 2.020 mm (0.0794 - 0.0795 in)
0.05 mm (0.0020 in) US 2.027 - 2.030 mm (0.0798 - 0.0799 in)
0.25 mm (0.0098 in) US 2.127 - 2.130 mm (0.0837 - 0.0839 in)
#2, #4, #5
Standard 2.000 - 2.013 mm (0.0787 - 0.0793 in)
0.03 mm (0.0012 in) US 2.019 - 2.022 mm (0.0795 - 0.0796 in)
0.05 mm (0.0020 in) US 2.029 - 2.032 mm (0.0799 - 0.0800 in)
0.25 mm (0.0098 in) US 2.129 - 2.132 mm (0.0838 - 0.0839 in)
Thrust clearance
Standard 0.030 - 0.115 mm (0.0012 - 0.0045 in)
Oil clearance
Standard 0.010 - 0.030 mm (0.00039 - 0.0012 in)

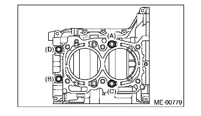
Cylinder block connecting bolts
LH side (A - D) 10 Nm (1.0 kgf-m, 7.4 ft-lb)





RH side (E - J) 10 Nm (1.0 kgf-m, 7.4 ft-lb)





LH side (A - D) 18 Nm (1.8 kgf-m, 13.3 ft-lb)





RH side (E - J) 18 Nm (1.8 kgf-m, 13.3 ft-lb)





LH side (A - D)

(A), (C) Tightening angle 90°
(B), (D) Torque tightening 40 Nm (4.1 kgf-m, 29.5 ft-lb)





RH side (E - J) 90°





LH side (A - H)
(A) - (G) 25 Nm (2.5 kgf-m, 18.4 ft-lb)
(H) 6.4 Nm (0.7 kgf-m, 4.7 ft-lb)





Crank Pulley
Tighten temporarily 44 Nm (4.5 kgf-m, 32.5 ft-lb)
Tightening torque 180 Nm (18.4 kgf-m, 132.8 ft-lb)