Electronic Throttle Actuator Relay: Testing and Inspection
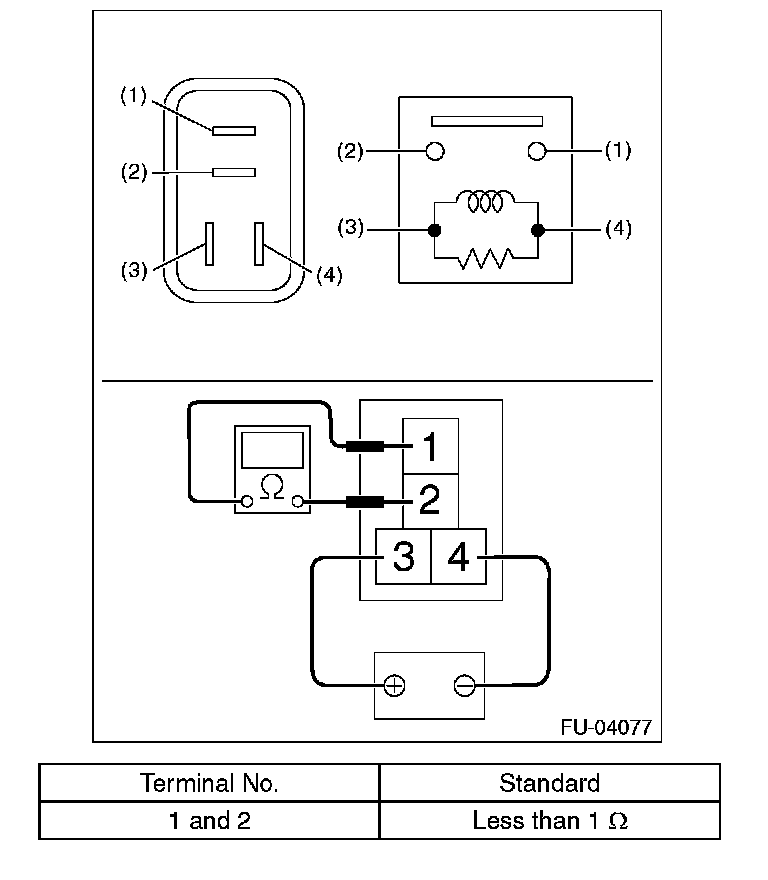
Electronic Throttle Control RelayINSPECTION
1. Measure the resistance between electronic throttle control relay terminals.
2. Connect terminal No. 3 to the battery positive terminal and the No. 4 terminal to the battery ground terminal, and measure the resistance between the electronic throttle control relay terminals.