Curiosii for ever!: Car repair manuals for everyone.

With ABS

ABS CONTROL MODULE AND HYDRAULIC CONTROL UNIT (ABSCM&H/U)





REMOVAL
1) Disconnect the ground cable from the battery.
2) Use compressed air to remove water and dust around the ABSCM&H/U.

NOTE:
If the terminals become dirty, it may cause improper contact.

3) Lift the lock lever and disconnect the ABSCM&H/U connector.

CAUTION:
Do not pull on the harness when disconnecting the connector.






4) Remove the harness clip.
5) Disconnect the brake pipes from the ABSCM&H/U.
6) Wrap the brake pipe with a vinyl bag so as not to spill the brake fluid on the vehicle body.

CAUTION:
If brake fluid is spilled on the vehicle body, wash it off immediately with water and wipe clean.


7) Loosen the nuts and remove the ABSCM&H/U.

CAUTION:
- Do not drop or bump the ABSCM&H/U.
- Do not turn the ABSCM&H/U upside down or place it sideways for storage.
- Be careful not to let foreign matter enter into ABSCM&H/U.
- Be careful that no water enters the connectors.






8) Remove the ABSCM&H/U bracket.

INSTALLATION
1) Install the ABSCM&H/U bracket.
Tightening torque:
33 Nm (3.4 kgf-m, 24.3 ft-lb)

2) Install the ABSCM&H/U using new nuts (Part No. 023506000) by aligning the damper groove of the ABSCM&H/U to the bracket side claw.

NOTE:
Check the identification marks of the ABSCM&H/U.

Tightening torque:
7.5 Nm (0.76 kgf-m, 5.5 ft-lb)





3) Connect the brake pipes to their correct ABSCM&H/U positions.
Tightening torque:
15 Nm (1.5 kgf-m, 11.1 ft-lb)

4) Using a harness clip, secure the ABSCM&H/U harness to the bracket.
5) Connect the connector to ABSCM&H/U.

NOTE:
- Be sure to remove all foreign matter from inside the connector before connecting.
- Make sure the ABSCM&H/U connector is securely locked.

6) Bleed air from the brake system.

REPLACEMENT

CAUTION:
- Because the seal of the ABSCM cannot be replaced, do not pull or peel it by lifting it up.
- Because the screw of the H/U will become slightly worn in every replacement procedure, 5 times is the maximum number of times for replacement. If a problem is found such as not being able to torque the screw to specifications even before 5 replacement operations are performed, replace the H/U body.
- When installing the ABSCM, always use new screws.
- When the sealing surface of the ABSCM or H/U is dirty or damaged and it cannot be removed or repaired, replace with a new part.


1) Remove the ABSCM&H/U.
2) To prevent entry of foreign objects and brake fluid leakage, plug the oil pressure port of the ABSCM&H/U using a screw plug, etc.
3) Set the pump motor section of the removed ABSCM&H/U face down on a vise.

NOTE:
Before securing a part in a vise, place cushioning material such as wood blocks, aluminum plate or cloth between the part and the vise.





4) Using TORX(R) bit E5, remove the four screws of ABSCM.

NOTE:
These screws cannot be reused.





5) Slowly pull out the ABSCM upward from the H/U.

NOTE:
To prevent damaging of coil section, remove the ABSCM straight up from H/U without twisting.

6) Make sure there is no dirt or damage on the sealing surface of the H/U.

CAUTION:
- Do not clean the ABSCM&H/U by applying compressed air.
- Even if damage is found on the H/U seal, do not attempt repair by filing or with a metal scraper. To remove the seal residue, always use a plastic scraper. Do not use chemical such as paint thinner, etc., to clean.


7) Position the coil of the new ABSCM to align with the H/U valve.
8) To prevent deformation of the ABSCM housing cover, hold the corner of ABSCM and install it to the H/U without tilting.
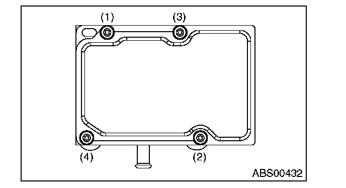
9) Using a TORX bit E5, attach/tighten new screws in the order of (1) through (4).

CAUTION:
Always use new screws.


Tightening torque:
1.5 Nm (0.15 kgf-m, 1.1 ft-lb)





10) Check that there is no foreign matter in mating surface between the ABSCM & H/U.
11) Using a TORX(R) bit E5, tighten the screws in the order of (1) through (4) again.
Tightening torque:
3 Nm (0.3 kgf-m, 2.2 ft-lb)
12) Check that there is no gap in the mating surface between ABSCM&H/U.
13) Install the ABSCM&H/U to the vehicle.