Curiosii for ever!: Car repair manuals for everyone.

Connecting Rod: Service and Repair

CONNECTING ROD
1) Replace the connecting rod, if the large or small end thrust surface is damaged.
2) Check for bend or twist using a connecting rod aligner. Replace the connecting rod if the bend or twist exceeds the limit.
Limit of bend or twist per 100 mm (3.94 in) in length: 0.10 mm (0.0039 in)





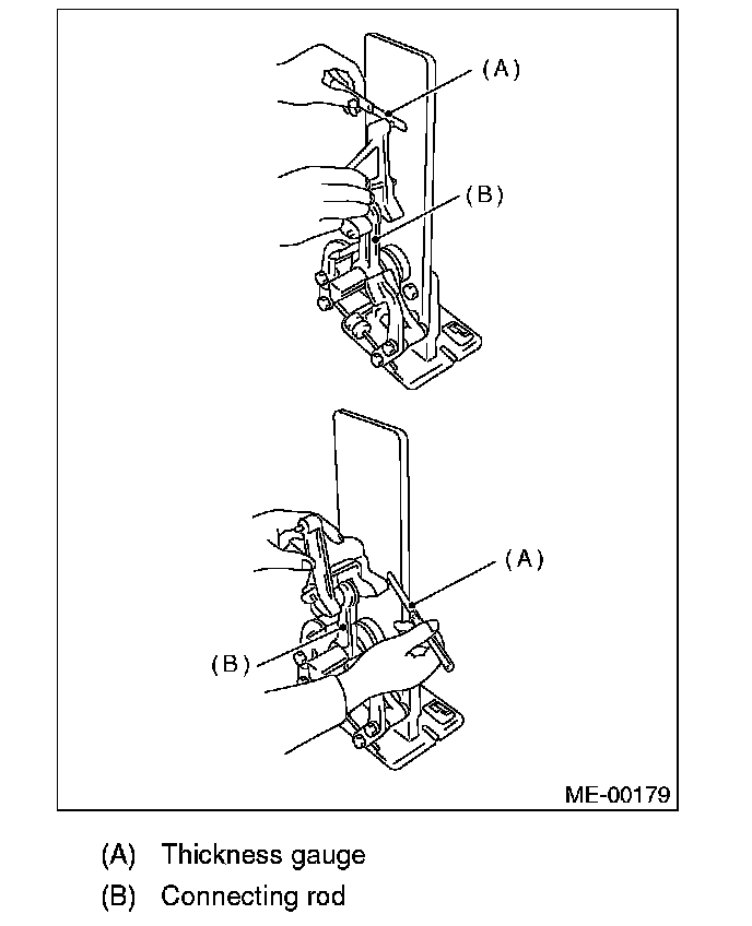
3) Install the connecting rod fitted with bearing to the crankshaft, and measure the thrust clearance using a thickness gauge. If the thrust clearance exceeds the standard or uneven wear is found, replace the connecting rod.
Connecting rod thrust clearance:
Standard: 0.070 - 0.330 mm (0.0028 - 0.0130 in)





4) Inspect the connecting rod bearing for scar, peeling, seizure, melting, wear, etc.
5) Measure the oil clearance on each connecting rod bearing using plastigauge. If any oil clearance is not within the standard, replace the defective bearing with a new part of standard size or undersize as necessary.
Connecting rod oil clearance:
Standard: 0.016 - 0.044 mm (0.00063 - 0.0017 in)





6) Inspect the bushing at connecting rod small end, and replace with a new part if worn or damaged.
7) Measure the piston pin clearance at connecting rod small end. If the measured value is not within the standard, replace it with a new part.
Clearance between piston pin and bushing:
Standard: 0 - 0.022 mm (0 - 0.0009 in)








8) The replacement procedure for the connecting rod small end bushing is as follows.
1) Remove the bushing from connecting rod with ST and press.
2) Press the bushing with the ST after applying oil on the periphery of new bushing.
ST 499037100 CONNECTING ROD BUSHING REMOVER AND INSTALLER





3) Make two 3 mm (0.12 in) holes in the pressed bushing by aligning with the pre-manufactured holes on the connecting rod, and ream the inside of the bushing.
4) After completion of reaming, clean the bushing to remove chips.