Curiosii for ever!: Car repair manuals for everyone.

Front Fender: Service and Repair

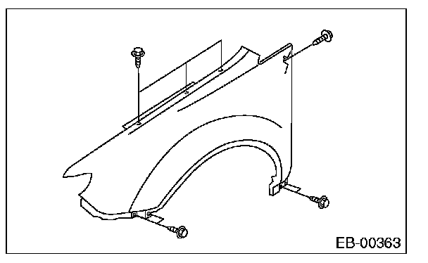
FRONT FENDER

REMOVAL

1. Disconnect the ground cable from the battery.
2. Remove the side sill garnish.
3. Remove the front bumper.
4. Remove the headlight assembly.
5. Remove the mud guard.
6. Remove the cowl panel side.






7. Remove the bolt, and remove the front fender panel.






INSTALLATION

1. Install in the reverse order of removal.
2. Install with attention to make uniform clearance between front fender panel and front hood panel. For the dimension of clearance, refer to "SPECIFICATION" in "General Description".

Tightening torque: 7.4 N.m (0.75 kgf-m, 5.5 ft-lb)