Curiosii for ever!: Car repair manuals for everyone.

Windshield Glass

WINDSHIELD GLASS

REMOVAL

1. WHEN USING WINDSHIELD GLASS KNIFE

1. Remove the front pillar trim RH, and disconnect the wiper deicer connector. (Model with wiper deicer)
2. Remove the cowl panel.
3. Remove the glass molding.
4. Tape the body side of the circumference of windshield glass for protection.
5. Apply sufficient amount of soapy water to the adhesive part.
6. Make a slit using a cutter knife to make it easier to insert the windshield glass knife.
7. Insert the windshield glass knife into the adhesive.
8. While holding the knife so that the blade is perpendicular to the front windshield and the edge of the glass, cut the adhesive all along the edge of the front glass.

NOTE:
- Do not twist the windshield glass knife.
- Cutting of adhesive part shall be started with wider gap between windshield glass and body.
- The locating pins are bonded to the corners of glass. Use piano wire to disconnect the pins.









2. WHEN USING PIANO WIRE

1. Remove the front pillar trim RH, and disconnect the wiper deicer connector. (Model with wiper deicer)
2. Remove the cowl panel.
3. Remove the glass molding.
4. Tape the body side of the circumference of windshield glass for protection.
5. Make a hole in the adhesive part using drill or cutter knife.
6. Pass the piano wire through the hole, and attach both the wire ends securely to pieces of wood.






7. Pull the wire ends alternately to cut off the adhesive part.

CAUTION:
- Do not tightly pull the piano wire against the windshield glass edge.
- Be careful not to damage interior and exterior parts.
- When removal is made with area close to instrument panel, place a protection plate over it. Pay particular attention to the removal.
- Do not cross piano wires. Otherwise they may be cut.


INSTALLATION

1. Process the cartridge nozzle tip as shown in the figure, and set the adhesive in sealant gun.






2. Clean the external circumference of windshield glass with alcohol or white gasoline.
3. Remove the adhesive layer on the body using cutter knife to obtain smooth face of 2 mm (0.08 in) thick.

CAUTION: Be careful not to damage the body and paint surface.






4. Clean the body with alcohol or white gasoline to eliminate cutting powder, dust and dirt completely from body.
5. Install the dam rubber.






6. Attach the seal to the glass. (Driver's seat side only)






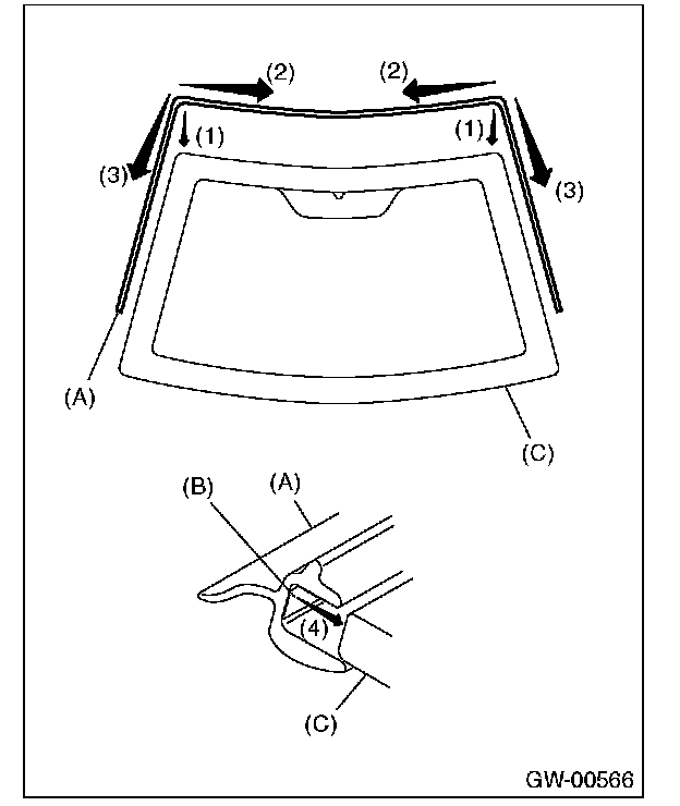
7. Install the molding to the glass.






1. Align the molding (A) with both ends of the upper edge of the windshield glass (C).
2. Install the molding from both corners of the upper edge toward the center.
3. Install the molding from both corners of the upper edge toward the lower side.
4. Press the double-sided tapes (B) uniformly on both sides of the glass.

8. Apply the primer to the adhesive surfaces of glass and body sides using sponge.

Glass primer:
Dow Automotive's
ESSEX U-401, U-402

Painted surface primer:
Dow Automotive's
ESSEX U-413


NOTE:
- Primer once attached to the painted surface of the body and internal trim is hard to wipe off. Mask the circumference of such area.
- Let primer dry for about ten minutes before installing the glass.
- Do not touch the surface coated with primer.






9. Apply adhesive to the glass end surface as shown.

Adhesive:
Dow Automotive's
ESSEX U-400HV or equivalent










10. Fit the locating pins to vehicle body using suction rubber cup to install the windshield glass.






11. Lightly press the windshield glass for tight fit.
12. Make flush the adhesive surface jutted out using spatula.
13. Connect the wiper deicer connector. (Model with wiper deicer)
14. After completion of all work, allow the vehicle to stand for about 24 hours.

NOTE:
- When door is opened/closed after glass is bonded, always lower the door glass first, and then open/close it carefully.
- Move the vehicle slowly.
- For minimum drying time and vehicle standing time before driving after bonding, follow instructions or instruction manual from the adhesive manufacturer.

15. After curing of adhesive, pour the water on external surface of vehicle to check that there are no water leaks.

NOTE: When a vehicle is returned to the user, tell him or her that the vehicle should not be subjected to heavy impact for at least three days.

16. Install the cowl panel.