Curiosii for ever!: Car repair manuals for everyone.

With ABS

ABS Control Module and Hydraulic Control Unit (ABSCM & H/U)





REMOVAL
1) Disconnect the ground cable from the battery.
2) Remove the air cleaner case to make it easier to remove the ABSCM&H/U.
3) Use an air gun to blow off any water around the ABSCM&H/U.

NOTE: A contact fault may occur if the terminal is wet.

4) Lift the lock lever and disconnect the ABSCM&H/U connector.

CAUTION: Do not pull on the harness when disconnecting the connector.





5) Remove the harness clip.
6) Disconnect the brake pipes from the ABSCM&H/U.
7) Wrap the brake pipe with a vinyl bag so as not to spill the brake fluid on the vehicle body.

CAUTION: If brake fluid is spilled on the vehicle body, wash it off immediately with water and wipe clean.

8) Remove the nuts and remove the ABSCM&H/U.

CAUTION:
^ Do not drop or bump the ABSCM&H/U.
^ Do not turn the ABSCM&H/U upside down or place it sideways for storage.
^ Be careful not to let foreign matter enter into ABSCM&H/U.
^ Be careful that no water enters the connectors.






9) Remove the ABSCM&H/U bracket.

INSTALLATION
1) Install the ABSCM&H/U bracket.
Tightening torque: 33 N-m (3.4 kgf-m, 24.6 ft-lb)
2) Install the ABSCM&H/U using new nuts (Part No. 023506000) by aligning the damper groove of the ABSCM&H/U to the bracket side claw.

NOTE: Check the identification marks of the ABSCM&H/U.

Tightening torque: 7.5 N-m (0. 76 kgf-m, 5.5 ft-lb)





3) Connect the brake pipes to their correct positions on the ABSCM&H/U.
Tightening torque: 15 N-m (1.5 kgf-m, 10.8 ft-lb)
4) Using cable clip, secure the ABSCM&H/U harness to the bracket.
5) Connect the connector to the ABSCM&H/U.

NOTE:
^ Be sure to remove all foreign matter from inside the connector before connecting.
^ Make sure that the ABSCM&H/U connector is securely locked.

6) Connect the grounding wire of the ABSCM&H/U and apply rust-prevention wax.
7) Install the air cleaner case.
8) Bleed air from the brake system.

REPLACEMENT

CAUTION:
^ Because the seal of the ABSCM cannot be replaced, do not pull or peel it by lifting it up.
^ Because the screw of the H/U will become slightly worn in every replacement procedure, 5 times is the maximum number of times for replacement. If a problem is found such as not being able to torque the screw to specifications even before 5 replacement operations are performed, replace the H/U body.
^ When installing the ABSCM, always use new screws.
^ When the sealing surface of the ABSCM or H/U is dirty or damaged and it cannot be removed or repaired, replace with a new part.


1) Remove the ABSCM&H/U.
2) To prevent entry of foreign objects and brake fluid leakage, plug the oil pressure port of the ABSCM&H/U using a screw plug, etc.
3) Set the pump motor section of the removed ABSCM&H/U face down on a vise.

NOTE: Before securing a part on a vise, set cushioning material such as wood blocks, aluminum plate, or shop cloth between the part and the vise.





4) Using TOW bit E5, remove the four screws of ABSCM.

NOTE: These screws cannot be reused.





5) Slowly pull out the ABSCM upward from the H/U.

NOTE: To prevent damaging the coil section, remove the ABSCM straight up from H/U without twisting.

6) Make sure there is no dirt or damage on the sealing surface of the H/U.

CAUTION:
^ Do not clean the ABSCM & H/U by applying compressed air.
^ Even if damage is found on the H/U seal, do not attempt repair by filing or with a metal scraper. To remove the seal residue, always use a plastic scraper. Do not use chemical such as paint thinner, etc., to clean.


7) Position the coil of the new ABSCM to align with the H/U valve.
8) To prevent deformation of the ABSCM housing cover, hold the corner of ABSCM and install it to the H/U without tilting.
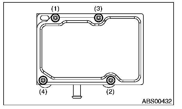
9) Using a TORX bit E5, attach/tighten new screws in the order of (1) through (4).

CAUTION: Always use new screws.

Tightening torque: 1.5 N-m (0.15 kgf-m, 1.1 ft-lb)





10) Check that there is no foreign matter in mating surface between the ABSCM & H/U.
11) Using a TORX bit E5, tighten the screws in the order of (1) through (4) again.
Tightening torque: 3 N-m (0.3 kgf-m, 2.2 ft-lb)
12) Check that there is no gap in the mating surface between ABSCM and H/U.
13) Install the ABSCM&H/U to the vehicle.

INSPECTION
1) Check the connection and seating of the connector.
2) Check the mark used for ABSCM&H/U identification.








CHECKING THE HYDRAULIC UNIT ABS OPERATION BY PRESSURE GAUGE
1) Lift up the vehicle, and remove the wheels.
2) Remove the air bleeder screws from FL and FR caliper bodies.
3) Connect two pressure gauges to FL and FR caliper bodies.

CAUTION:
^ Use a pressure gauge used exclusively for brake fluid measurement.
^ Do not use a pressure gauge used previously for measurement of transmission oil pressure, as the piston seal may expand and deform.


NOTE: Wrap sealing tape around the pressure gauge.





4) Bleed air from the pressure gauge.
5) Perform ABS sequence control.
6) When the hydraulic unit begins to work, first the FL side performs decompression, hold and compression, and then the FR side performs decompression, hold and compression.
7) Read the values indicated on the pressure gauge and check if the fluctuation of the values between decompression and compression meets the standard values. Also check whether any irregular tightness of the brake pedal can be felt.





8) Disconnect the pressure gauges from FL and FR caliper bodies.
9) Remove the air bleeder screws from RL and RR caliper bodies.
10) Install the air bleeder screws of FL and FR caliper bodies.
11) Connect two pressure gauges to RL and RR caliper bodies.
12) Bleed the air of the FL and FR caliper bodies.
13) Perform ABS sequence control.
14) When the hydraulic unit begins to work, first the RR side performs decompression, hold and compression, and then the RL side performs decompression, hold and compression.
15) Read the values indicated on the pressure gauges and check if it is within specification.
16) After checking, remove the pressure gauges from the caliper bodies.
17) Install the air bleeder screws of RL and RR caliper bodies.
18) Bleed air from the brake system.

CHECKING THE HYDRAULIC UNIT ABS OPERATION WITH THE BRAKE TESTER
1) In the case of AWD AT models, install a spare fuse to the FWD connector in the main fuse box to simulate FWD vehicles.





NOTE: Since a viscous coupling is used in the center differential on MT models, AWD circuit cut-off cannot be performed.

2) Prepare for the ABS sequence control operation.
3) Set the front wheels or rear wheels on the brake tester and set the select lever position to the "N" range.








4) Operate the brake tester.
5) Perform ABS sequence control.
6) When the hydraulic unit begins to work, check the following work sequence.
1) The FL side performs decompression, hold and compression in sequence, and subsequently the FR side repeats the cycle.
2) The RR side performs decompression, hold and compression in sequence, and the RL side repeats the same cycle next.
7) Read values indicated on the brake tester and check if the fluctuation of the values between decompression and compression meets the standard values.





8) After checking, press the brake pedal and check whether any irregular tightness of the brake pedal can be felt.