Curiosii for ever!: Car repair manuals for everyone.

Reverse Check System

Reverse Check System

REMOVAL
1) Remove the manual transmission assembly from the vehicle.
2) Prepare the transmission for overhaul.
3) Remove the extension case.
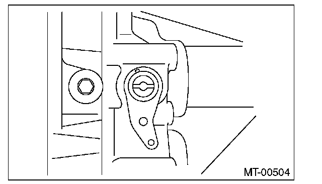
4) Remove the snap ring and washer from the reverse check shaft.





5) Remove the reverse check shaft and spring from the extension case.





6) Remove the spring pin, and remove the reverse check lever and oil seal from the reverse check shaft.

NOTE: Use a new oil seal.





7) Remove the plug from the extension case, and remove the gasket, spring and plunger.

NOTE: Use a new gasket.





8) Remove the reverse lock plunger.





INSTALLATION
1) Insert the reverse lock plunger.
2) Install the reverse check plug, spring, gasket, and plug in order.





3) Install the spring and reverse check shaft to the extension case.

NOTE: Confirm that the end of the spring matches the hole of the reverse check shaft and the cut out of the extension case.





4) Install the washer and snap ring.





5) Attach ST1 to the reverse check shaft. Install the new oil seal, and push it in using ST2.
ST1 18671AA000 OIL SEAL GUIDE
ST2 18657AA010 INSTALLER





6) Insert the reverse check lever, and turn the reverse check shaft until the plunger is pushed in.





7) Match the hole of the reverse check lever and the reverse check shaft, and attach the spring pin.





8) Check that the reverse check is operating correctly.
9) Install the extension case.
10) Install the manual transmission assembly to the vehicle.

INSPECTION
1) Check that there is no damage on any parts.
2) Check that the reverse check lever is operating smoothly.
3) Inspect that there is no oil leak at the oil seal section of the reverse check shaft. If there is oil leakage, replace the oil seal.
4) Check the operation of the reverse check.
(1) When the reverse check lever is in the following position, the plunger is pressed, or the gear can shift into reverse.





(2) When the reverse check lever is in the following position, the plunger is not pressed, or the gear cannot shift into reverse.





5) If it does not operate correctly, reassemble the reverse check system.