Curiosii for ever!: Car repair manuals for everyone.

Front

REMOVAL
15-INCH TYPE
1. Lift-up the vehicle and remove front wheels.





2. Remove the caliper bolt.
3. Raise the caliper body and support it.

NOTE: Do not disconnect the brake hose from caliper body.





4. Remove the pad.

NOTE: If the brake pad is difficult to remove, proceed as follows:

1 Remove the caliper body from support.
2 Remove the support.





3 Place the support in a vise between wooden blocks.





4 Attach a rod of less than 12 mm (0.47 inch) diameter to the shaded area of the brake pad, and strike the rod with a hammer to drive brake pad out of place.

16-INCH TYPE
Refer to 15-inch type.

17-INCH TYPE
Refer to 15-inch type.

INSTALLATION
15-INCH TYPE





1. Apply a thin coat of Molykote M7439 to pad clip.





2. Apply a thin coat of Molykote AS880N (Part No. K0779YA010 to the frictional portion between pad and pad inner shim.





3. Apply a thin coat of Molykote AS880N (Part No. K0779YA010 to the three frictional portions between inner shim and outer shim of outer pads.
4. Install the pad on support.
5. Install the caliper body on support.
Tightening torque: 27 Nm (2.8 kgf-m, 19.9 ft. lbs.)

16-INCH TYPE
Refer to 15-inch type.

17-INCH TYPE





1. Apply a thin coat of Molykote M7439 to pad clip.





2. Apply a thin coat of Molykote AS880N (Part No. K0779YA010 to the frictional portion between pad and pad inner shim.





3. Apply a thin coat of Molykote AS880N (Part No. K0779YA010 to the three frictional portions between inner shim and outer shim of outer pads.





4. Install the pad on support.

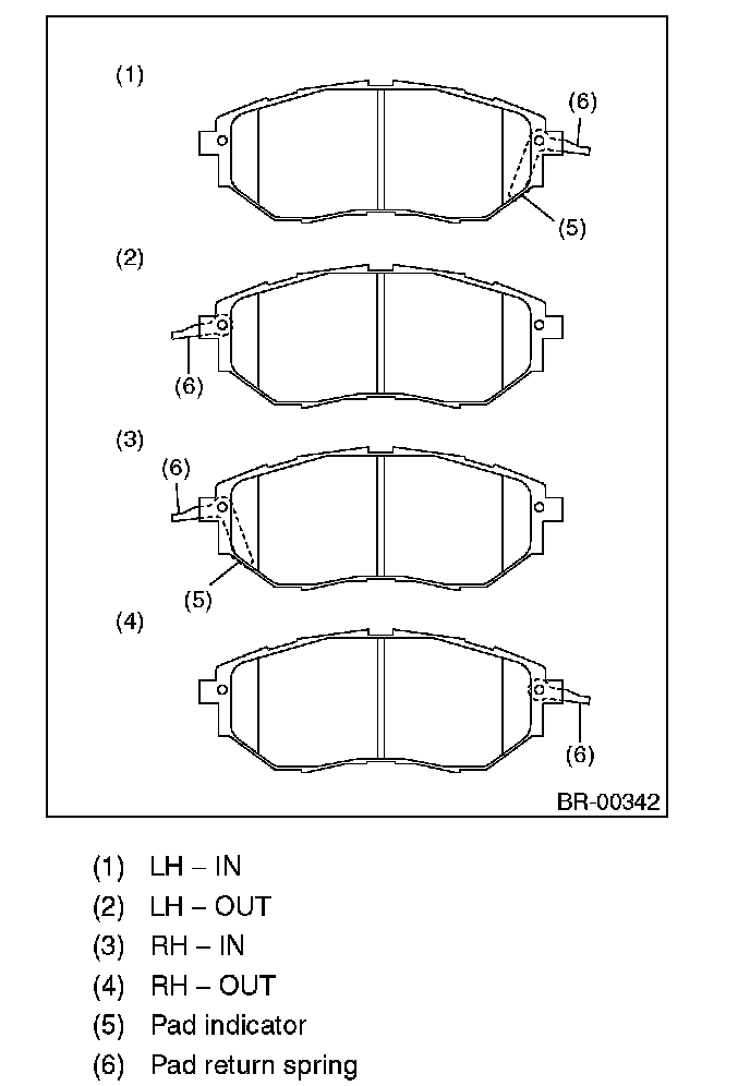
NOTE: Install the pad indicator in proper direction.





CAUTION:
^ Be sure to install so that the direction of pad return spring faces to the input side of brake rotor rotation direction as shown in the figure.
^ Correctly install the pad return spring to supporting surface of pad clip as shown in the figure.
^ When the pad return spring is deformed or damaged, replace the brake pad with new one.

5. Install the caliper body on support.
Tightening torque: 27 Nm (2.8 kgf-m, 19.9 ft. lbs.)