Curiosii for ever!: Car repair manuals for everyone.

Front

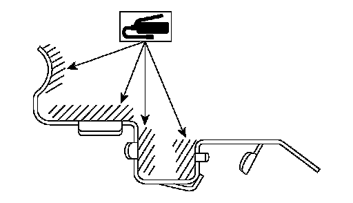
REMOVAL
15-INCH TYPE

CAUTION: Do not allow brake fluid to come in contact with vehicle body; wash away with water and wipe off completely if spilled.

1. Lift-up the vehicle, and remove the front wheels.





2. Remove the union bolt, and disconnect the brake hose from caliper body assembly.





3. Remove the bolt securing lock pin to caliper body.
4. Raise the caliper body, and then move it toward vehicle center to separate it from support.





5. Remove the support from housing.

NOTE: Remove the support only when replacing itself or rotor. It need not be removed when servicing the caliper body assembly.

6. Clean mud and foreign particles from the caliper body assembly and the support.

16-INCH TYPE
Refer to 15-inch type.

17-INCH TYPE
Refer to 15-inch type.

INSTALLATION
15-INCH TYPE
1. Install the support on housing.
Tightening torque: Flange bolt 120 Nm (12.2 kgf-m, 88.5 ft. lbs.)
Bolt with washer 80 Nm (8.2 kgf-m, 59 ft. lbs.)






2. Apply a thin coat of Molykote M7439 to pad clip.





3. Apply a thin coat of Molykote AS880N (Part No. K0777YA010 to the frictional portion between pad and inner shim.





4. Apply a thin coat of Molykote AS880N (Part No. K0777YA010 to the three frictional portions between inner shim and outer shim of outer pads.
5. Install the pad on support.
6. Install the caliper body on support.
Tightening torque: 27 Nm (2.8 kgf-m, 19.9 ft. lbs.)
7. Using new brake hose gaskets, connect the brake hose.
Tightening torque: 18 Nm (1.8 kgf-m, 13.0 ft. lbs.)
8. Bleed air from the brake system.

16-INCH TYPE
Refer to 15-inch type.

17-INCH TYPE
1. Install the support on housing.
Tightening torque: Flange bolt 120 Nm (12.2 kgf-m, 88.5 ft. lbs.)
Bolt with washer 80 Nm (8.2 kgf-m, 59 ft. lbs.)






2. Apply a thin coat of Molykote M7439 to pad clip.





3. Apply a thin coat of Molykote AS880N (Part No. K0777YA010 to the frictional portion between pad and inner shim.





4. Apply a thin coat of Molykote AS880N (Part No. K0779YA010 to the three frictional portions between inner shim and outer shim of outer pads.
5. Install the pad on support.





NOTE: Install the pad indicator in proper direction.





CAUTION:
^ Be sure to install so that the direction of pad return spring faces to the input side of brake rotor rotation direction as shown in the figure.
^ Correctly install the pad return spring to supporting surface of pad clip as shown in the figure.
^ When the pad return spring is deformed or damaged, replace the brake pad with new one.

6. Install the caliper body on support.
7. Using new brake hose gaskets, connect the brake hose.
Tightening torque: 18 Nm (1.8 kgf-m, 13.0 ft. lbs.)
8. Bleed air from brake system.

DISASSEMBLY
15-INCH TYPE
1. Clean mud and foreign particles from the caliper body assembly and the support.

CAUTION: Be careful not to allow foreign particles to enter the brake hose connector.

2. Place a wooden block in caliper body as shown in the figure to prevent piston from jumping out and avoid being damaged.





3. Gradually supply compressed air via installation hole of brake hose to force the piston out.





4. Remove the piston boot.
5. Remove the piston seal from caliper body cylinder.





CAUTION: Do not damage the cylinder and piston seal groove.

6. Remove the guide pin and boot from caliper body.

16-INCH TYPE
Refer to 15-inch type.

17-INCH TYPE
Refer to 15-inch type.

ASSEMBLY
1. 15-INCH TYPE
1. Clean the caliper body interior using brake fluid.
2. Apply a coat of brake fluid to the piston seal and fit piston seal in groove on caliper body.
3. Apply a coat of brake fluid to the entire inner surface of cylinder and outer surface of piston.
4. Apply a coat of specified grease to the boot and fit in to the groove on the ends of cylinder.
Grease: NIGLUBE RX-2 (Part No. K0779GA102)
5. Insert the piston into cylinder.





CAUTION: Do not force the piston into cylinder.





6. Position the boot in the grooves on cylinder and piston.
7. Apply a coat of specified grease to the lock pin and guide pin outer surface, cylinder inner surface, and boot grooves.
Grease: NIGLUBE RX-2 (Part No. K0779GA102)





8. Install the lock pin and guide pin boot on support.

16-INCH TYPE
Refer to 15-inch type.

17-INCH TYPE
Refer to 15-inch type.