Curiosii for ever!: Car repair manuals for everyone.

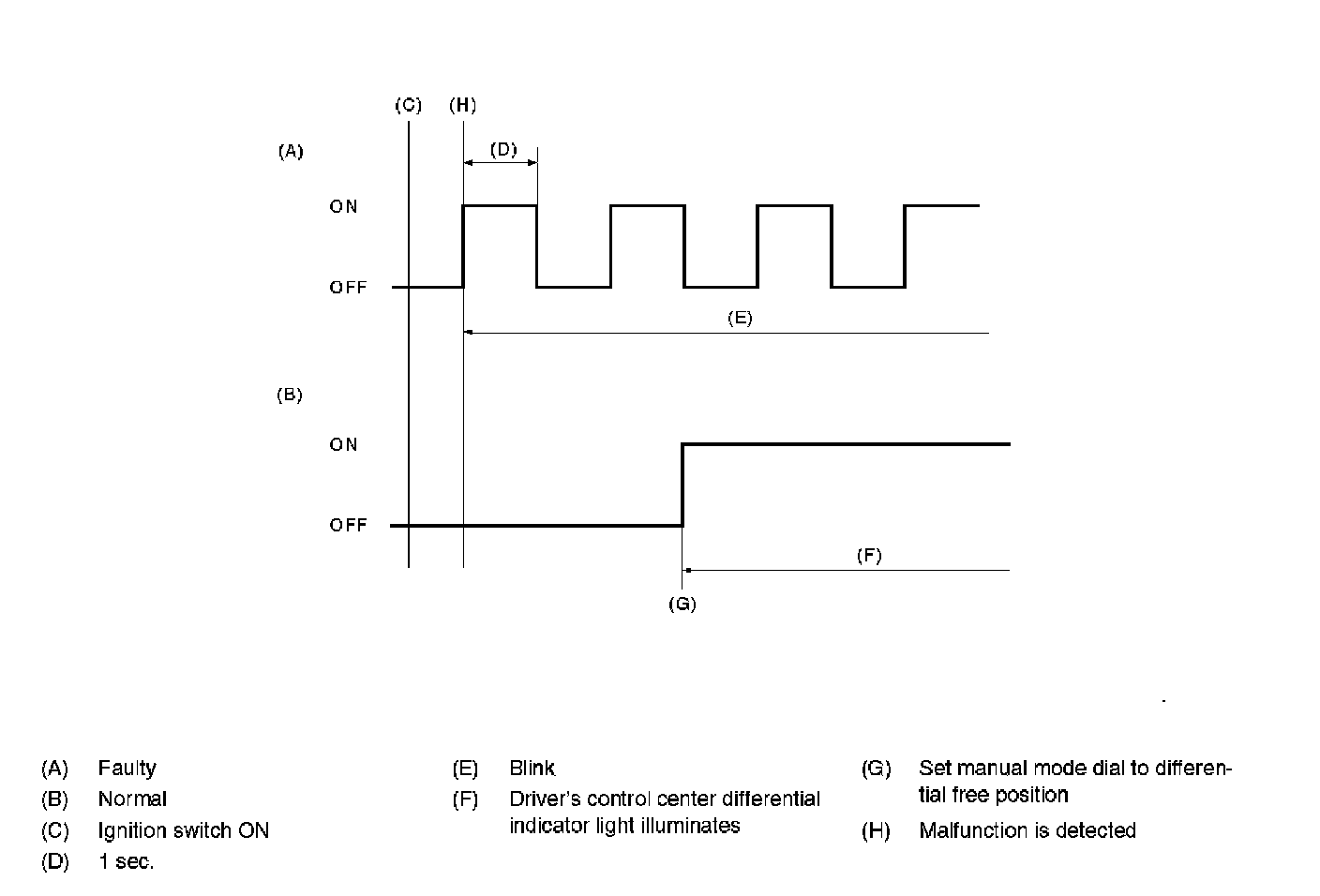
Driver's Control Center Differential Indicator Light Display

INSPECTION





When the malfunction occurs on part or unit, the control module performs self diagnosis and driver's control center differential indicator light (at the bottom differential free light) keep blinking until detect the malfunction and the ignition switch is turned to OFF. Faulty part or unit can be identified by calling up DTC. Indicator display is as shown in the figure.