Curiosii for ever!: Car repair manuals for everyone.

Disassembly and Assembly

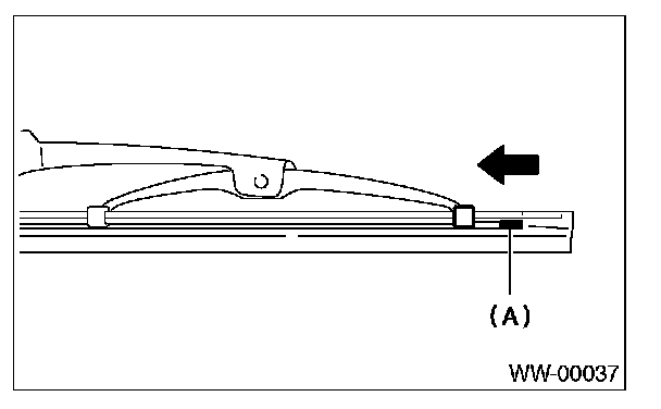
DISASSEMBLY




Pull side (A) of the wiper rubber stopper and remove the rubber from the blade assembly.

ASSEMBLY

1. METAL TYPE




1. Insert the wiper rubber onto the blade so that the stopper is in the position shown.




2. Make sure the wiper rubber is securely fastened to the pull stopper (A).

2. RESIN TYPE







1. Insert the wiper rubber into claw (B).




2. Insert the wiper rubber until its top end protrudes approx. 20 mm (0.79 in) from stopper (D).




3. Insert the wiper rubber into claw (A).