Curiosii for ever!: Car repair manuals for everyone.

Navigation Module: Service and Repair

Navigation Body

REMOVAL
1. Disconnect the ground cable from battery.
2. Remove the driver s seat.




3. Remove the cover attachment bolts, and remove the cover.
4. Disconnect the connector.




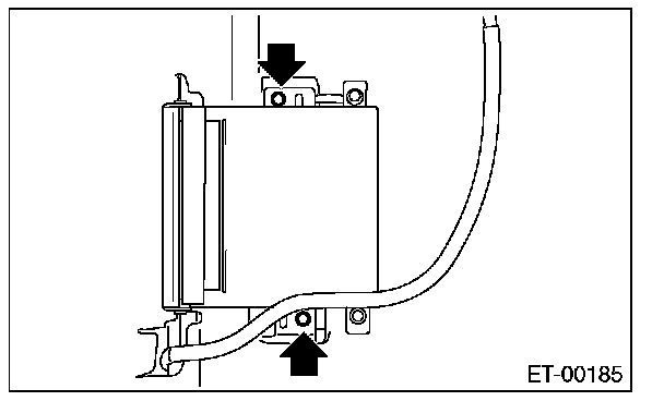
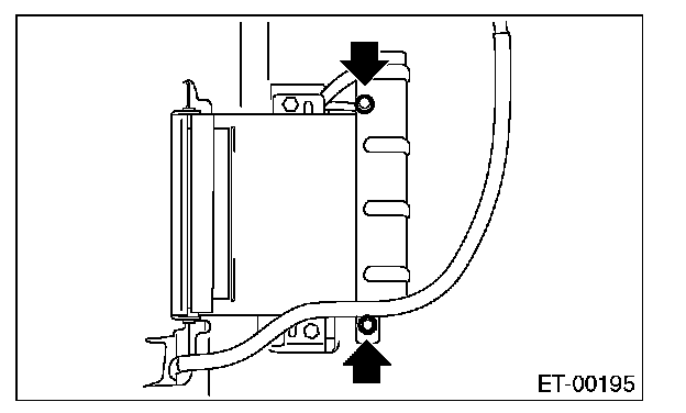
5.Remove the bolts and then remove the navigation unit.

INSTALLATION
Install in the reverse order of removal.