Curiosii for ever!: Car repair manuals for everyone.

Fuel Cut Control Unit: Service and Repair

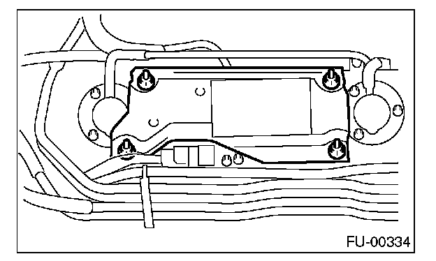
Fuel Cut Valve

REMOVAL
1. Remove the fuel tank.




2. Remove the protect cover.




3. Move the clip and disconnect the evaporation hose from fuel cut valve.
4. Remove the bolts which install the fuel cut valve.




INSTALLATION
Install in the reverse order of removal.

NOTE: Use a new gasket.