Curiosii for ever!: Car repair manuals for everyone.

Knock Sensor: Service and Repair

Knock Sensor

REMOVAL
1. Disconnect the ground cable from battery.
2. Remove the intercooler.




3. Disconnect the knock sensor connector.




4. Remove the knock sensor from the cylinder block.

INSTALLATION




1. Install the knock sensor to the cylinder block.

Tightening torque: 24 N.m (2.4 kgf-m, 17.4 ft-lb)

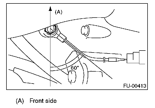
NOTE: Extraction area of the knock sensor cord must be positioned at a 60 degrees angle relative to the engine rear.




2. Connect the knock sensor connector.
3. Install the intercooler.
4. Connect the battery ground cable to battery.