Curiosii for ever!: Car repair manuals for everyone.

Disassembly and Assembly

DISASSEMBLY




1. Remove the four through-bolts.




2. Heat the portion (A) of rear cover to 50 degree C (122 degree F) with heater drier.




3. Then insert the tip of a flat tip screwdriver into the gap between stator core and front cover. Pry them apart to disassemble.







4. Hold the rotor with a vise and remove pulley nut.

CAUTION: When holding the rotor with vise, insert aluminum plates or wood pieces on the contact surfaces of vise to prevent rotor from damage.

5. Remove the ball bearing as follows.




1. Remove the bolt, and then remove the bearing retainer.




2. Firmly install an appropriate tool (such as a fit socket wrench) to bearing inner race.
3. Push the ball bearing off the front cover using a press.




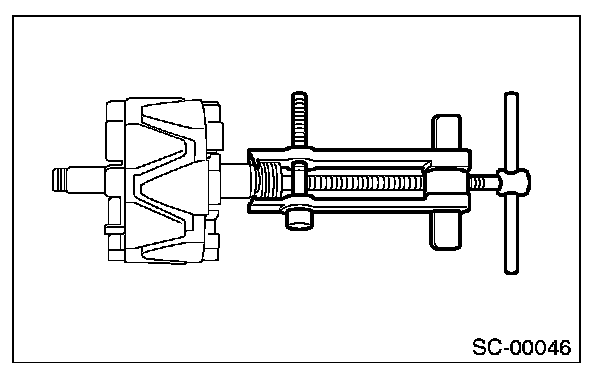
6. Remove the bearing from rotor using a bearing puller.




7. Unsolder connection between rectifier and stator coil to remove the stator coil.

CAUTION: Do not allow the 180 - 270 W solding bit to contact the terminals for more than 5 seconds at a time because the rectifier cannot withstand heat very well.

8. Remove the IC regulator as follows.




1. Remove the screws which secure IC regulator to rear cover.




2. Unsolder the connection between IC regulator and rectifier to remove the IC regulator.

9. Remove the brush as follows.




1. Remove cover A.




2. Remove the cover B.




3. Separate the brush from connection to remove.

10. Remove the rectifier as follows.




1. Remove the bolts which secure the rectifier.




2. Remove the cover of terminal B.




3. Remove the nut of terminal B, and then remove the rectifier.

ASSEMBLY
To assemble, reverse order of disassembly.




1. Pulling up brush
Before assembling, press the brush down into brush holder, and then fix them in that position by passing a [1 mm (0.08 in) dia. length 4 to 5 cm (1.6 to 2.0 in)] wire through the hole shown in the figure.

CAUTION: Be sure to remove the wire after reassembly.

2. Install the ball bearing.
1. Set the ball bearing on the front cover, and then securely install an appropriate tool (such as a fit socket wrench) to the bearing outer race.
2. Press the ball bearing into the specified position using a press.
3. Install the bearing retainer.

3. Press the bearing (rear side) into the rotor shaft using a press to install.
4. Heat the bearing box in rear cover [50 to 60 degree C (122 to 140 degree F)], and then press the rear bearing into rear cover.

CAUTION:
Grease should not be applied to rear bearing.
Remove the oil completely if it is found on bearing box.

5. After reassembly, turn the pulley by hand to check that rotor turns smoothly.