Curiosii for ever!
: Car repair manuals for everyone.
Home
>>
Subaru
>>
2006
>>
B9 Tribeca F6-3.0L DOHC
>>
Repair and Diagnosis
>>
Specifications
>>
Mechanical Specifications
>>
Engine
>>
Timing Components
>>
System Specifications
System Specifications
Crankshaft Pulley
Crankshaft Pulley
178 Nm (18.1 kgf-m, 131 ft. lbs.)
Chain Tensioner
Front Chain Cover
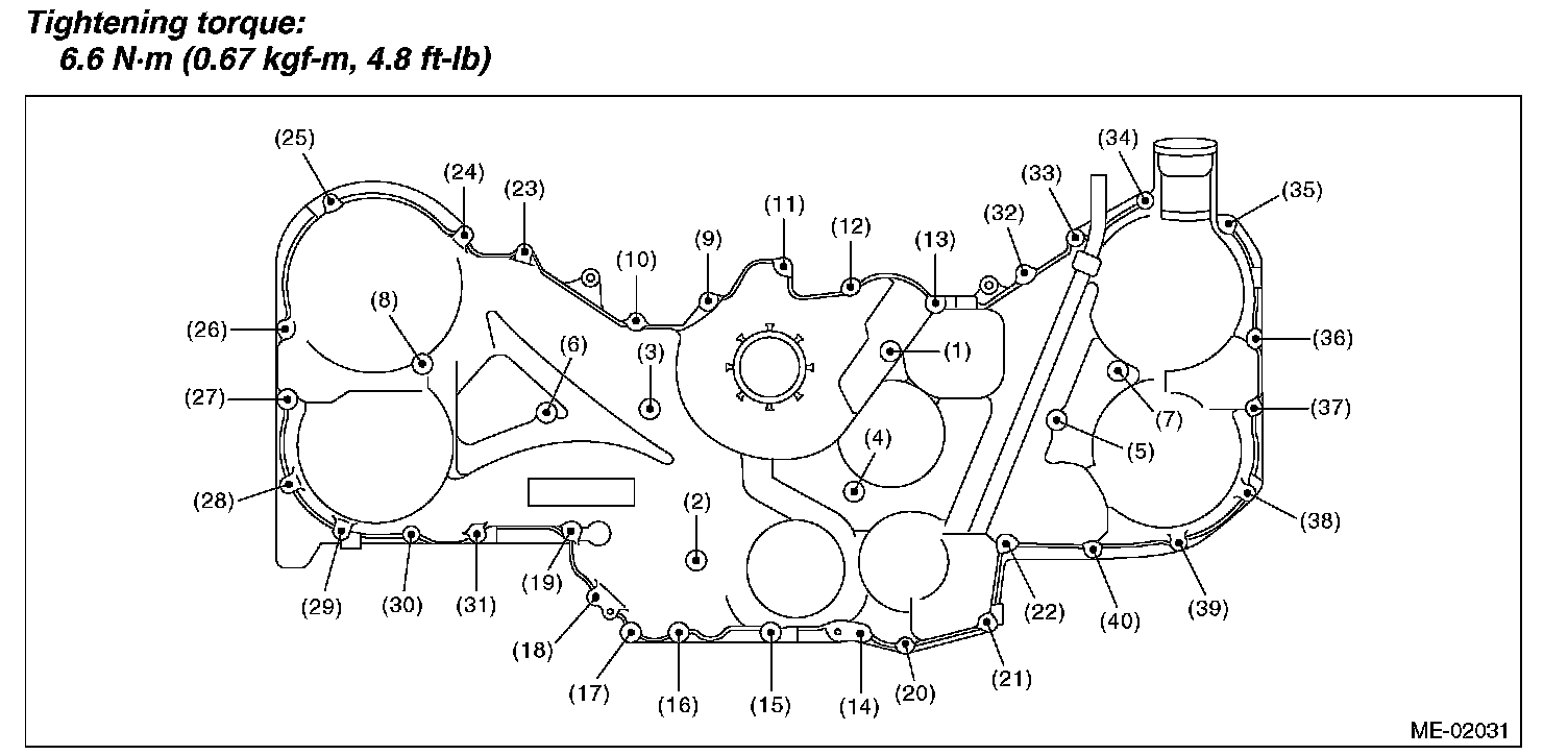
Tighten the bolts in the numerical order as shown in the figure.