Curiosii for ever!: Car repair manuals for everyone.

Rear Suspension

General Description

SPECIFICATION





NOTE:
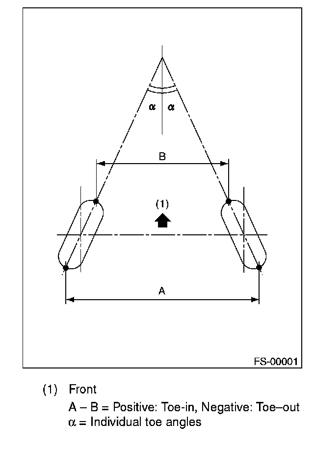
^ Front and rear toe-in and front camber can be adjusted. Adjust if the toe-in or camber tolerance exceeds specifications.
^ Other items indicated in the specifications table cannot be adjusted. If other items exceed specifications, check the suspension parts and connections for deformation, and replace with new ones as required.