Curiosii for ever!: Car repair manuals for everyone.

Electronic Brake Control Module: Service and Repair

VDC Control Module & Hydraulic Control Unit (VDCCM & H/U)

REMOVAL
1. Disconnect the ground cable from the battery.
2. Use compressed air to remove moisture and dust around the VDCCM&H/U.

NOTE: If the terminals become dirty, it may cause improper contact.

3. Lift the lock lever and Disconnect the VDCCM & H/U connector.

CAUTION: Do not pull on the harness when disconnecting the connector.





4. Disconnect the brake pipes from the VDCCM & H/U.
5. Wrap the brake pipe with a vinyl bag so as not to spill the brake fluid on the vehicle body.

CAUTION: If brake fluid is spilled on the vehicle body, wash it off immediately with water and wipe clean.

6. Remove the nuts and remove the VDCCM&H/U.





CAUTION:
^ The VDCCM&H/U cannot be disassembled. Do not attempt to loosen the bolts and nuts.
^ Do not drop or bump the VDCCM&H/U.
^ Do not turn the VDCCM&H/U upside down or place it sideways during storage.
^ Be careful not to let foreign matter enter the VDCCM&H/U.
^ Be careful that no water enters the connectors.

7. Remove the VDCCM&H/U bracket.

INSTALLATION
1. Install the VDCCM&H/U bracket.

Tightening torque: 33 Nm (3.3 kgf-m, 24 ft. lbs.)

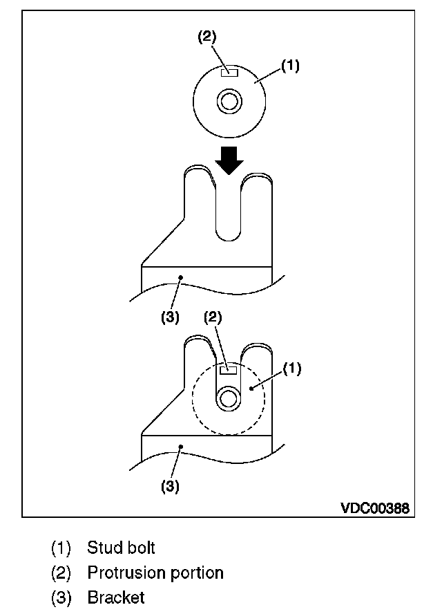
2. Install the VDCCM&H/U to the bracket.

Tightening torque: 7.5 Nm (0.76 kgf-m, 5.5 ft. lbs.)

CAUTION: Attach so that the protrusion of the stud bolt is at the position shown in the figure.





3. Connect the brake pipes to their correct VDCCM & H/U positions.
4. Connect the VDCCM&H/U connectors.

NOTE:
^ Be sure to remove all foreign matter from inside the connector before connecting.
^ Make sure the VDCCM&H/U connector is securely locked.

5. Bleed air from the brake system.

INSPECTION
1. Check the condition of connection and settlement of connector.
2. Check the mark used for VDCCM&H/U identification.
Refer to SPECIFICATION for the identification mark.





CHECKING THE HYDRAULIC UNIT ABS OPERATION BY PRESSURE GAUGE
1. Lift-up the vehicle and remove the wheel.
2. Remove the air bleeder screws from FL and FR caliper bodies.
3. Connect two pressure gauges to FL and FR caliper bodies.

CAUTION:
^ Use a pressure gauge used exclusively for brake fluid measurement.
^ Do not use the pressure gauge used for the measurement of transmission oil. Doing so will cause the piston seal to expand and deform.

NOTE: Wrap sealing tape around the pressure gauge.





4. Bleed air from the pressure gauges and the FL and FR caliper bodies.
5. Perform ABS sequence control.
6. When the hydraulic unit begins to work, first the FL side performs decompression, hold and compression, and then the FR side performs decompression, hold and compression.
7. Read values indicated on the pressure gauge and check if the fluctuation of the values between decompression and compression meets the standard values. Depress the brake pedal and check that the kick-back is normal, and tightness is normal.





8. Disconnect the pressure gauges from FL and FR caliper bodies.
9. Install the air bleeder screws of FL and FR caliper bodies.
10. Remove the air bleeder screws from RL and RR caliper bodies.
11. Connect two pressure gauges to RL and RR caliper bodies.
12. Bleed air from the brake system.
13. Bleed air from RL and RR caliper bodies, and pressure gauge.
14. Perform ABS sequence control.
15. When the hydraulic unit begins to work, first the RR side performs decompression, hold and compression, and then the RL side performs decompression, hold and compression.
16. Read values indicated on the pressure gauge and check if the fluctuation of the values between decompression and compression meets specification. Depress the brake pedal and check that the kick-back is normal, and tightness is normal.
17. Disconnect the pressure gauge from the RL and RR caliper bodies.
18. Install the air bleeder screws of RL and RR caliper bodies.
19. Bleed air from the brake system.

CHECKING THE HYDRAULIC UNIT ABS OPERATION WITH THE BRAKE TESTER
1. Set wheels other than the one to measure free rollers.
2. Prepare for the ABS sequence control operation.
3. Set the front wheels or rear wheels on the brake tester and set the select lever position to the N range.





4. Operate the brake tester.
5. Perform ABS sequence control.
6. When the hydraulic unit begins to work, check the following work sequence.
1. The FL wheel performs decompression, hold and compression in sequence, and subsequently the FR wheel repeats the cycle.
2. The RR wheel performs decompression, hold and compression in sequence, and subsequently the RL wheel repeats the cycle.
7. Read values indicated on the brake tester and check if the fluctuation of the values between decompression and compression meets specification.





8. After the inspection, depress the brake pedal and check that it is not abnormally hard, and tightness is normal.

3. CHECKING THE HYDRAULIC UNIT VDC OPERATION USING A PRESSURE GAUGE
1. Lift-up the vehicle and remove the wheel.
2. Remove the air bleeder screws from FL and FR caliper bodies.
3. Connect two pressure gauges to FL and FR caliper bodies.

CAUTION:
^ Use a pressure gauge used exclusively for brake fluid measurement.
^ Do not use a pressure gauge used for the measuring transmission oil pressure, as the piston seal may expand and deform.

NOTE: Wrap sealing tape around the pressure gauge.





4. Bleed air from the pressure gauge.
5. Perform VDC sequence control.
6. When the hydraulic unit begins to work, first the FL side performs compression, hold, and decompression, and then the FR side performs compression, hold, and decompression.
7. Read values indicated on the pressure gauge and check if the fluctuation of the values between decompression and compression meets specification. Depress the brake pedal and check that it is not abnormally hard, and tightness is normal.





8. Disconnect the pressure gauges from FL and FR caliper bodies.
9. Install the air bleeder screws of FL and FR caliper bodies.
10. Remove the air bleeder screws from RL and RR caliper bodies.
11. Connect two pressure gauges to RL and RR caliper bodies.
12. Bleed air from RL and RR caliper bodies, and pressure gauge.
13. Perform VDC sequence control.
14. When the hydraulic unit begins to work, first the RR side performs compression, hold, and decompression, and then the RL side performs compression, hold, and decompression.
15. Read the values indicated on the pressure gauges and check if it is within specification. Depress the brake pedal and check that it is not abnormally hard, and tightness is normal.
16. Disconnect the pressure gauge from the RL and RR caliper bodies.
17. Install the air bleeder screws of RL and RR caliper bodies.
18. Bleed air from the brake line.

CHECK HYDRAULIC UNIT VDC OPERATION WITH BRAKE TESTER
1. Set wheels other than the one to measure free rollers.
2. Prepare to operate the VDC sequence control.
3. Set the front wheels or rear wheels on the brake tester and set the select lever position to the N range.





4. Operate the brake tester.
5. Perform VDC sequence control.
6. When the hydraulic unit begins to work, check the following work sequence.
1. The FL wheel performs compression, hold and decompression in sequence, and subsequently the FR wheel repeats the cycle.
2. The RR wheel performs compression, hold and decompression in sequence, and subsequently the RL wheel repeats the cycle.
7. Read values indicated on the brake tester and check if the fluctuation of the values between decompression and compression meets specification.





8. After the inspection, depress the brake pedal and check that it is not abnormally hard, and tightness is normal.