Curiosii for ever!: Car repair manuals for everyone.

Front Door Window Regulator: Service and Repair

Front Regulator and Motor Assembly

REMOVAL
1. Remove the door glass.




2. Loosen the nuts to remove the rear sash.
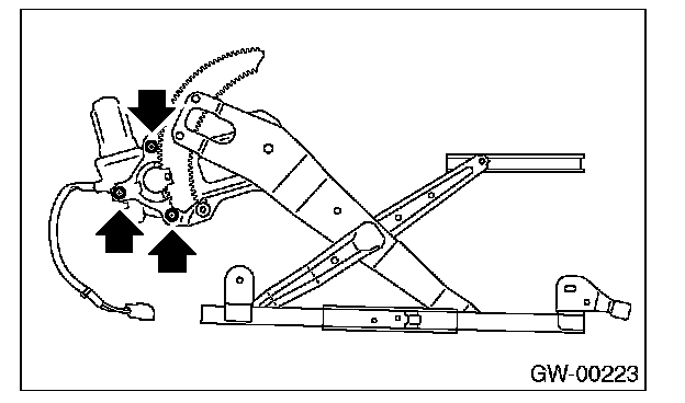
3. Disconnect the motor connector.




4. Loosen the four bolts and two nuts to remove the regulator assembly.




5. Loosen the screw to remove motor assembly.

INSTALLATION
1. Install in the reverse order of removal.
2. Adjust the front door glass.

Tightening torque:
T1: 7.4 N.m (0.75 kgf-m, 5.5 ft-lb)
T2: 13.7 N.m (1.4 kgf-m, 10.1 ft-lb)