Curiosii for ever!
: Car repair manuals for everyone.
Home
>>
Subaru
>>
2005
>>
Outback Sport F4-2.5L SOHC
>>
Repair and Diagnosis
>>
Heating and Air Conditioning
>>
System Relay
>>
Testing and Inspection
System Relay: Testing and Inspection
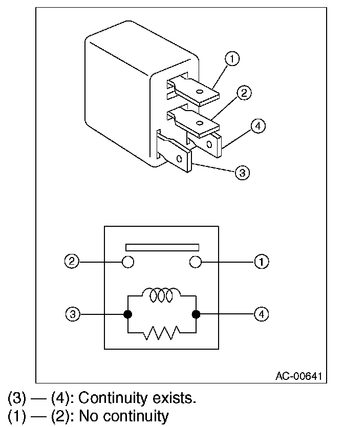
INSPECTION
While applying battery voltage to the terminal between (3) and (4), check continuity between (1) and (2).
If no continuity exists, replace the
relay
with a new one.