Curiosii for ever!: Car repair manuals for everyone.

Disassembly and Assembly

DISASSEMBLY

1. METAL TYPE




Pull side (A) of the wiper rubber stopper and remove the rubber from blade assembly.

2. RESIN TYPE




Pull the wiper rubber top slightly from the stopper (A) and pull out fully.

ASSEMBLY

1. METAL TYPE




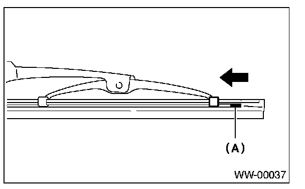
1. Insert the wiper rubber onto blade so that the stopper is in the position shown in the figure.




2. Make sure the wiper rubber is securely fastened to the pull stopper (A).

2. RESIN TYPE

Resin Type:







1. Insert the wiper rubber through the claw B.




2. Insert the wiper rubber until its top end protrudes approx. 20 mm (0.79 in) from stopper D.




3. Insert the wiper rubber into the claw A.