Curiosii for ever!: Car repair manuals for everyone.

Shift Interlock Solenoid: Service and Repair

AT Shift Lock Solenoid and P Range Switch

REMOVAL
1. Remove the console box.
2. Remove the connector.





3. Remove the indicator bulb.
4. Remove the grip.





5. Remove the indicator cover.





6. Remove the connector from guide plate upper.





7. Shift the select lever to N range, and remove the detent spring.





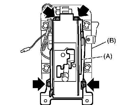
8. Remove the switch assembly and shift lock solenoid assembly.





9. Remove the bolt to remove guide plate upper





10. Raise the claw of connector.





11. Disconnect the terminal of P range switch from connector, using a flat-tip screwdriver with thin tip.

INSTALLATION





Install in the reverse order of removal.

NOTE:
^ Refer to COMPONENT for each tightening torque.
^ Connect the P range switch terminal to connector.





INSPECTION