Curiosii for ever!: Car repair manuals for everyone.

Center Console

CENTER CONSOLE

REMOVAL

1. Disconnect the ground cable from battery.
2. Remove the console box.
3. Remove the console front panel.






NOTE:
- For AT model, remove the ring indicator.
- For MT model, remove the shift knob.

4. Loosen the screw, remove the hook, and remove the console side garnish.






5. Remove the instrument panel lower cover.






6. Remove the clip at the console side panel tip.






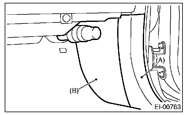
7. Remove the passenger side front inside scuff plate (A) and front pillar lower trim (B).






8. Remove the clip, and remove the glove box lower cover.






9. Remove the screws, and remove the console side panel.






10. Loosen the screws to pull out the audio unit assembly, and disconnect the connector to remove audio unit.






NOTE: Audio unit assembly can be removed without removing the console side panel.

INSTALLATION

Install in the reverse order of removal.