Curiosii for ever!: Car repair manuals for everyone.

Air Bag Systems: Service Precautions

CAUTION
When servicing a vehicle, be sure to turn the ignition switch to OFF, disconnect the ground cable from battery, and wait for more than 20 seconds before starting work.







The airbag system is fitted with a backup power source. If the airbag system is serviced within 20 seconds after the ground cable is disconnected, it may inflate.
If the airbag warning light illuminates, repair the vehicle immediately. Airbag or pretensioner may inflate incorrectly, or not inflate in collision.
If sensors, airbag module, airbag control module, pretensioner, and harness are deformed or damaged, replace them with new genuine parts.







Do not use the airbag system and pretensioners on other vehicles. When replacing parts, be sure to replace them with new parts.







Do not check continuity of either of the airbag modules for driver, passenger or side, or pretensioner.







When checking the system, be sure to use a digital circuit tester. Use of an analog circuit tester may cause the airbag to activate erroneously.







When checking, use a test harness. Do not directly apply the tester probe to any connector terminal of the airbag.







Do not drop the airbag modulator parts, subject them to high temperature over 93°C (199°F), or let water, oil, or grease get on them; otherwise, the internal parts may be damaged and reliability greatly lowered.







If any damage, opening, or rust is found on the airbag system wire harness, do not attempt to repair using soldering equipment. Be sure to replace the faulty harness with a new genuine part.







Install the wire harness securely with the specified clips to avoid interference or tangled up with other parts.







Do not allow water or oil to come in contact with the connector terminals. Do not touch the connector terminals.







Either of the airbag modules for driver, passenger or side, or pretensioner must not be disassembled.
The airbag module cannot be used again once inflated.







After removal, keep the airbag module with the pad facing upward on a dry, clean, and flat surface away from heat and light sources, and moisture and dust.







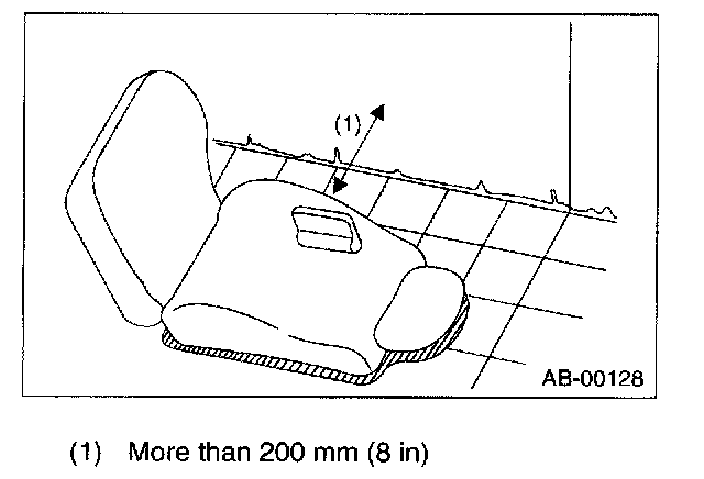
The removed front seat with the airbag module must be kept at least 200 mm (8 in) away from walls and other objects.
When painting or performing sheet metal work on the front part of the vehicle, including the front wheel apron, front fender, and front side frame, remove the front sub sensors and wire harness of the airbag system.







When painting or performing sheet metal work on the side of the vehicle, including the side sill, center pillar, and front and rear doors, remove the side airbag sensors and wire harness of the airbag system.







When storing a removed airbag module, do not place any objects on it or pile airbag modules on top of each other. lithe airbag inflates for some reason when it is placed with its pad side facing downward or under any object, a serious accident may result.
Do not discard undeployed airbag modules. They could easily cause a serious accident if accidentally deployed.