Curiosii for ever!
: Car repair manuals for everyone.
Home
>>
Subaru
>>
2004
>>
Outback F6-3.0L
>>
Repair and Diagnosis
>>
Heating and Air Conditioning
>>
Description and Operation
>>
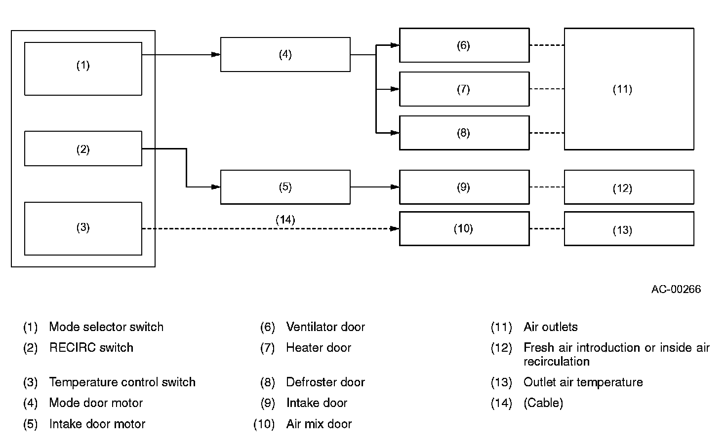
Mode Selector Switch and Air Flow
Mode Selector Switch and Air Flow
Air Distribution Ratio
The above diagram shows air distribution for each position of the mode selector switch.
Air Flow:
System Control Flow: