Curiosii for ever!: Car repair manuals for everyone.

Heater System





Heater System
The heater control unit is located in the middle portion of the instrument panel.

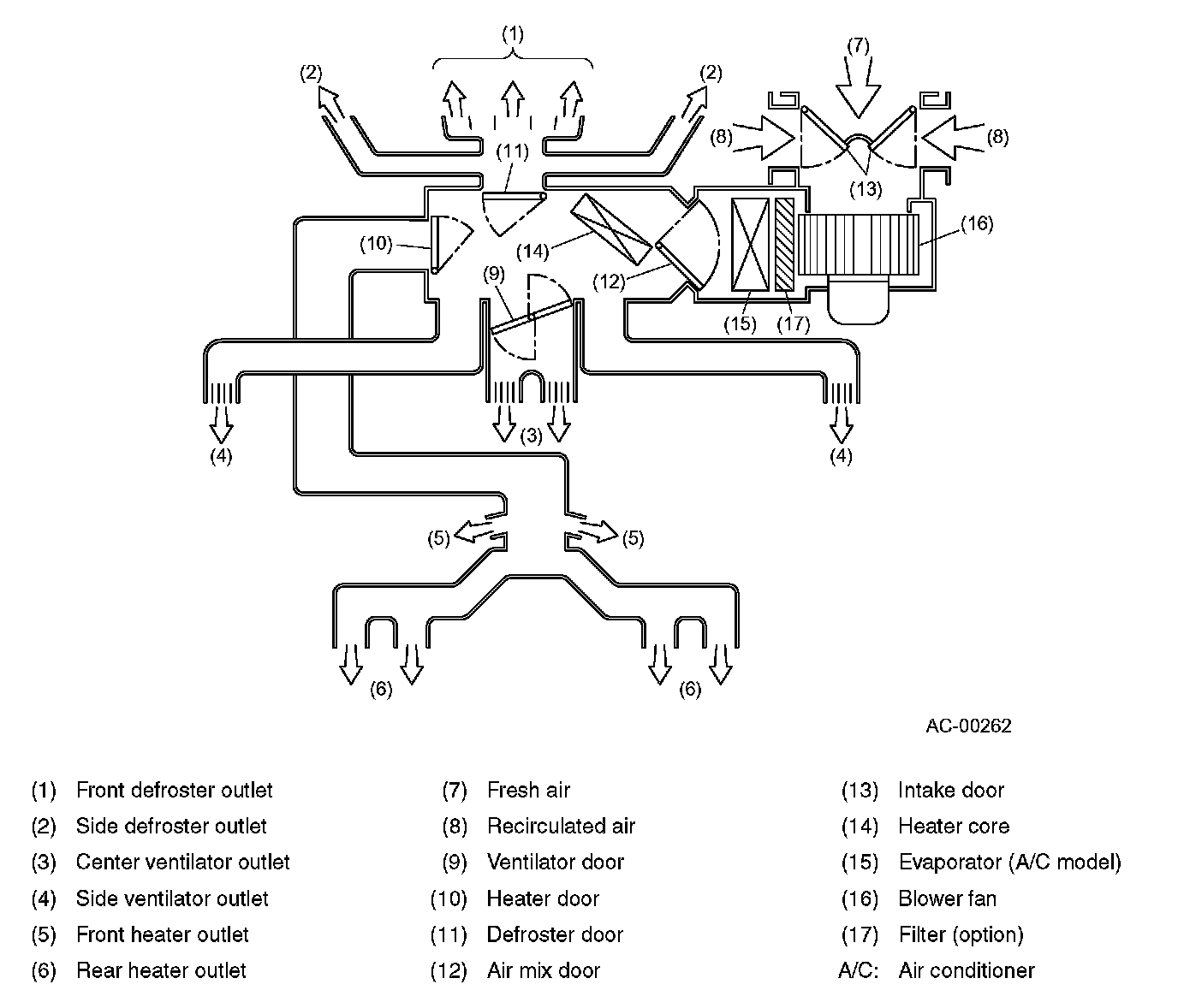
The heater unit has mode doors and an air mix door. The intake unit has an intake door and a blower motor. The heater unit and the intake unit are regulated by their control units.

Fresh outside air is introduced into the cabin through the center and side ventilators when the blower fan is operated.

All models are equipped with front side window defrosters.

An optional filter is provided in front of the evaporator inlet.