Curiosii for ever!: Car repair manuals for everyone.

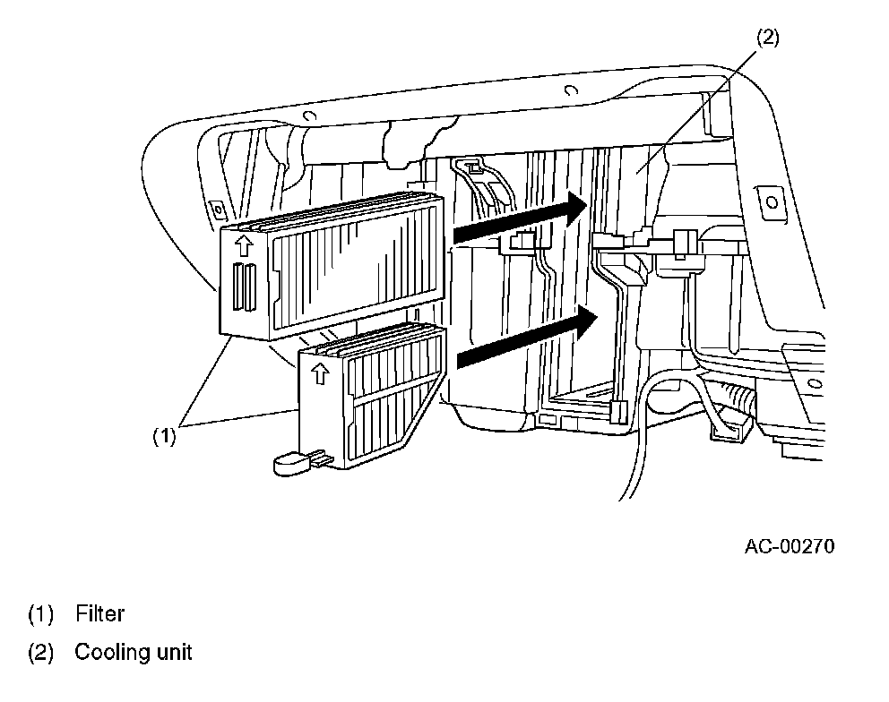
Filter (Option)





Filter (Option)
The optional filter is located in front of the cooling unit's evaporator inlet. The air conditioner may fail to exhibit its full performance if the filter is excessively clogged with dust and dirt. It is essential to replace the filter with a new one at the specified interval.