Curiosii for ever!
: Car repair manuals for everyone.
Home
>>
Subaru
>>
2004
>>
Outback F4-2.5L SOHC
>>
Repair and Diagnosis
>>
Specifications
>>
Mechanical Specifications
>>
Brakes and Traction Control
>>
Brake Master Cylinder
Brake Master Cylinder
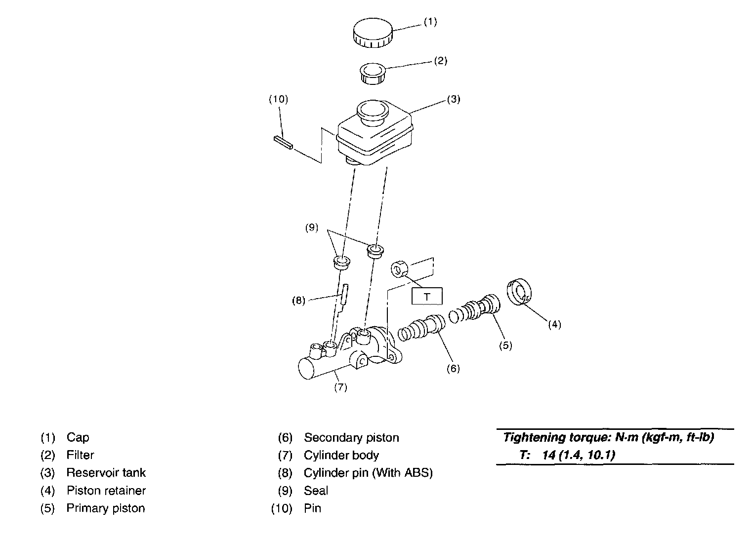
MASTER CYLINDER
^
Models without VDC
^
Model with VDC