Curiosii for ever!: Car repair manuals for everyone.

Expansion Valve: Description and Operation





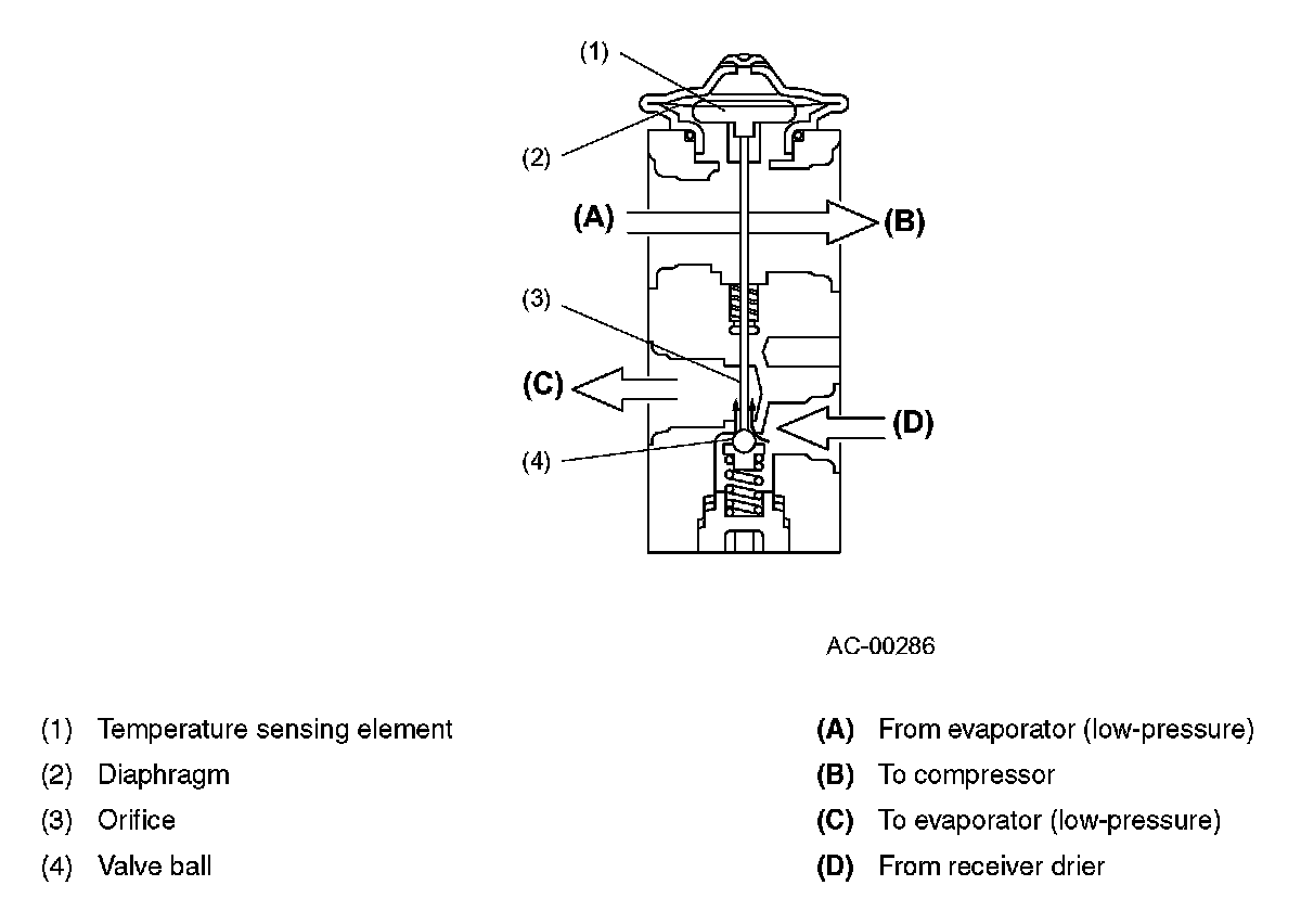
Mechanism
The expansion valve is connected to both the evaporator inlet and outlet pipes. It converts highpressure liquid refrigerant which comes from the receiver drier to misty, low-pressure refrigerant which is delivered to the evaporator. Being at low pressure and low temperature, this refrigerant can easily evaporate in the evaporator and remove heat from the cabin air. The valve performs this conversion by automatically controlling the flow rate of refrigerant according to the cooling ability required by the heat load.
The refrigerant temperature is sensed by the temperature sensing element located in the low-pressure refrigerant passage of the expansion valve, and the flow rate of the refrigerant is controlled by changing the lift of the valve ball located in the high-pressure passage.




Function
When the heat load to the air conditioning system increases, the refrigerant temperature at the evaporator outlet rises and therefore the pressure P1 around the temperature sensing area increases. As this pressure P1 becomes higher than the sum of the evaporator outlet (low-pressure side) pressure P2 and the spring force F (P1 > P2 + F), the diaphragm is pressed down, moving the valve ball connected to the diaphragm clear of its seat. This increases the flow of the refrigerant.
When the heat load is small, the action of the valve's inner elements is contrary to the above; the valve ball closes and the flow of the refrigerant decreases.